EasyManua.ls Logo

Rexel 250 S2 - Page 22

Rexel 250 S2
66 pages
Print Icon
To Next Page IconTo Next Page
To Next Page IconTo Next Page
To Previous Page IconTo Previous Page
To Previous Page IconTo Previous Page
Loading...
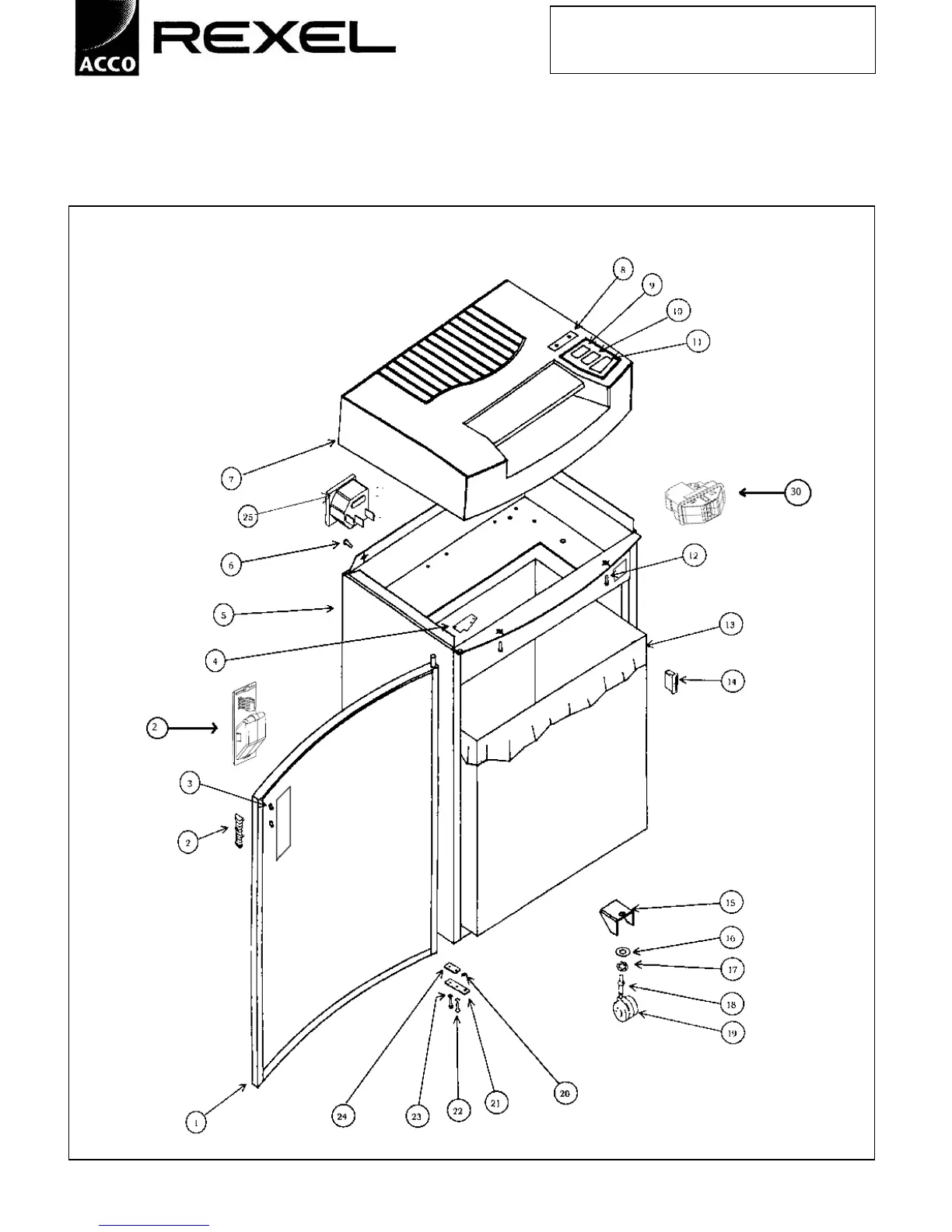
Deskside and Office 230v 21 26/05/99
ILLUSTRATED PARTS MANUALS
SERIES 7 SHREDDERS – 230v
DESKSIDE AND OFFICE MODELS
MODEL 250 CABINET

Related product manuals