EasyManua.ls Logo

RMG 720 - Page 8

RMG 720
24 pages
Print Icon
To Next Page IconTo Next Page
To Next Page IconTo Next Page
To Previous Page IconTo Previous Page
To Previous Page IconTo Previous Page
Loading...
720.20 S.08
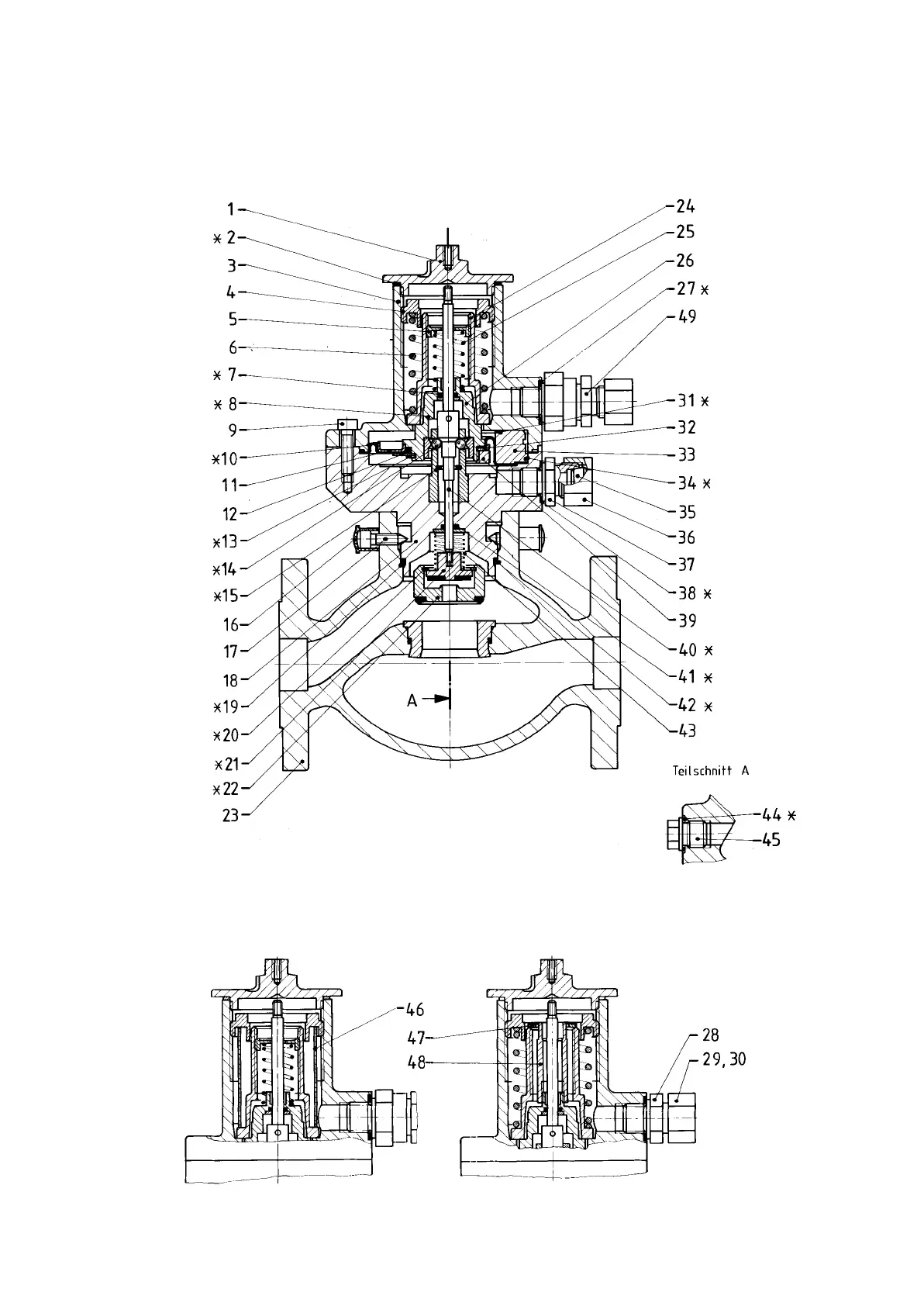
Spare parts
Measuring units K 1a / K 2a
Spare parts drawing of K 1a / K 2a
Drawing for RMG 720, DN 25 and RMG 402, DN 25
*) parts to be kept in stock for maintenance
measuring unit for
underpressure release only
measuring unit for overpressure release only,
special version
(without diaphragm rupture safety protection)
measuring unit for
overpressure and underpressure release
4.
4.1.
4.1.1.
4.1.1.1.
partial view A
K 1a K 2a