EasyManua.ls Logo

Robosoft RBS-24ED - Diagnostic Functions; Manual Advance Diagnostics

Robosoft RBS-24ED
31 pages
Print Icon
To Next Page IconTo Next Page
To Next Page IconTo Next Page
To Previous Page IconTo Previous Page
To Previous Page IconTo Previous Page
Loading...

$XWRPDWLF (OHFWURQLF 'LDJQRVWLFV
7KH IDFHSODWH KDV D VHOIGLDJQRVWLF IXQFWLRQ IRU WKH HOHFWULFDO V\VWHP H[FHSW LQSXW SRZHU DQGRU
ZDWHU PHWHU 7KH IDFHSODWH PRQLWRUV HOHFWURQLF FRPSRQHQWV DQG FLUFXLWV IRU FRUUHFW RSHUDWLRQ ,I
D PDOIXQFWLRQ RFFXUV DQ HUURU FRGH DSSHDUV LQ WKH IDFHSODWH GLVSOD\
7KH WURXEOHVKRRWLQJ FKDUW RQ SDJH  VKRZV WKH HUURU FRGHV WKDW FRXOG DSSHDU DQG WKH SRVVLEOH
GHIHFWV IRU HDFK FRGH
:KLOH DQ HUURU FRGH DSSHDUV LQ WKH GLVSOD\ DOO IDFHSODWH EXWWRQV DUH LQRSHUDEOH H[FHSW WKH
6(/(&70(18 EXWWRQ 6(/(&70(18 UHPDLQV RSHUDWLRQDO VR WKH VHUYLFH SHUVRQ FDQ SHUIRUP
WKH 0DQXDO $GYDQFH 'LDJQRVWLFV VHH EHORZ WR IXUWKHU LVRODWH WKH GHIHFW
0DQXDO $GYDQFH 'LDJQRVWLFV
8VH WKH IROORZLQJ SURFHGXUHV WR DGYDQFH WKH XQLW WKURXJK WKH UHJHQHUDWLRQ F\FOHV WR FKHFN
RSHUDWLRQ
5HPRYH WKH )DFHSODWH &RYHU WR REVHUYH FDP DQG VZLWFK RSHUDWLRQ GXULQJ YDOYH URWDWLRQ
 3UHVV DQG KROG
SELECT
MENU
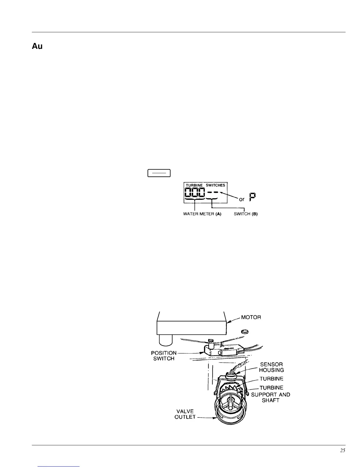
6HOHFW0HQX IRU VHFRQGV XQWLO  VKRZV LQ WKH GLVSOD\
 7KH ILUVW GLJLWV LQGLFDWH ZDWHU PHWHU RSHUDWLRQ DV IROORZV
 VWHDG\ 6RIW ZDWHU QRW LQ XVH DQG QR IORZ WKURXJK WKH PHWHU
³23(1 $ 1($5%< 62)7 :$7(5 )$8&(7 ³
 WR  FRQWLQXDO 5HSHDWV GLVSOD\ IRU HDFK JDOORQ RI ZDWHU SDVVLQJ WKURXJK WKH
PHWHU
127( ,I \RX GRQ·W JHW D UHDGLQJ LQ WKH GLVSOD\ ZLWK IDXFHW RSHQ SXOO WKH
VHQVRU IURP WKH YDOYH RXWOHW SRUW 3DVV D VPDOO PDJQHW EDFN DQG IRUWK LQ
IURQW RI WKH VHQVRU <RX VKRXOG JHW D UHDGLQJ LQ WKH GLVSOD\ ,I \RX JHW
D UHDGLQJ XQKRRN WKH LQ DQG RXW SOXPELQJ DQG FKHFN WKH WXUELQH IRU
ELQGLQJ