EasyManua.ls Logo

Rockwell Automation Allen-Bradley 900-TC16

Rockwell Automation Allen-Bradley 900-TC16
410 pages
To Next Page IconTo Next Page
To Next Page IconTo Next Page
To Previous Page IconTo Previous Page
To Previous Page IconTo Previous Page
Loading...
Publication 900-UM007D-EN-E - January 2011
Configuration & Basic Operation 3-53
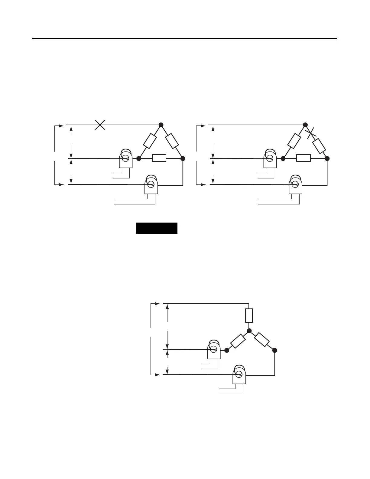
The heater burnout current when there is a burnout at the load is as follows:
(heater burnout detection current) = (17.3 + 10) / 2 13.65 [A]
To enable detection in either case, use 16.1 A as the heater burnout detection
current.
Figure 3.102 — Heater Burnout Detection
EXAMPLE
Using Three 200V AC, 2 kW Heaters, Star Connecting Lines
The current when each phase is normal is 5.8 A ( 10 A × (1 /3)).
Figure 3.103 — Star Connecting Lines
The heater burnout detection current for this connecting line is
5.4 A (= (5.8 + 5) / 2).
CT
CT
Load
Load
200 V
200 V
15 A
15 A
200 V
CT
CT
Load
Load
200 V
200 V
10 A
17.3 A
10 A
200 V
Burnout Burnout
Burnout
Load
Load
To CT input
To CT input
Current when there is a burnout = 10 A × 3 × (3/2) = 15 A
Current when there is a burnout = 10 A × 3 × (1/3) = 10 A
Burnout
To CT Controller input To CT Controller input
CT
CT
200 V
200 V
5.8 A
5.8 A
5.8 A
200 V
Load
Load
Load
Normal
To CT input
Load (such as a heater)
To CT Controller input

Related product manuals