EasyManua.ls Logo

roco WLANmaus Z21 - Page 56

roco WLANmaus Z21
Print Icon
To Next Page IconTo Next Page
To Next Page IconTo Next Page
To Previous Page IconTo Previous Page
To Previous Page IconTo Previous Page
Loading...
56
56
REVERSE
DIRECTION
28 SPEED STEPS
ANALOG DRIVING
NMRA-BIDI
SPEED TABLE
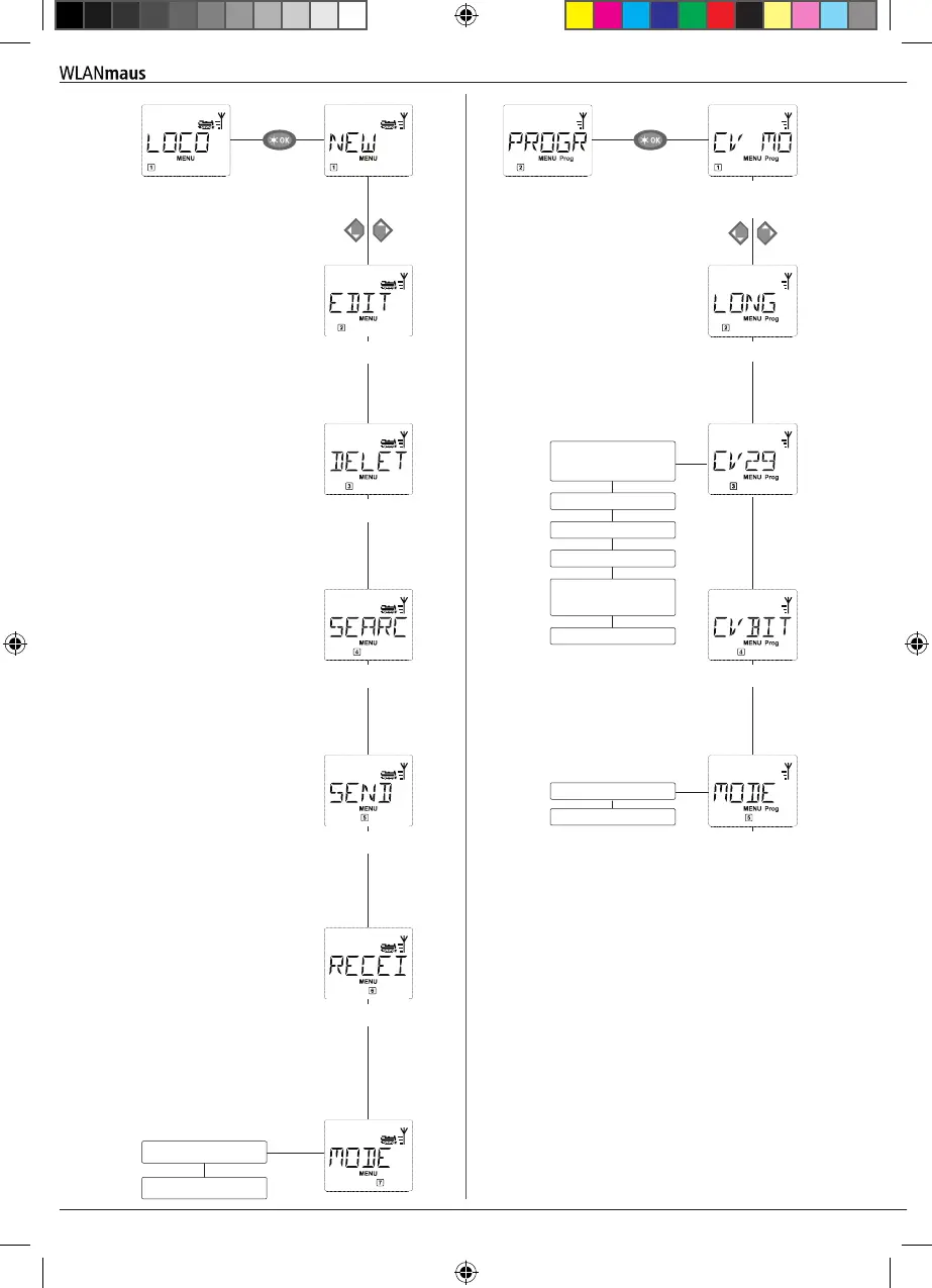
LONG ADDRESS
EDIT
DELETE
CV
MODIFICATION
LONG ADDRESS
SEND
RECEIVE
SAERCH
Menu 2:
PROGRAM
ADDRESS
LIBRARY
Menu 1:
LOCO
CV
POM
MODUS
CVBIT AENDERN
Menus
8010813920.indd 56 13.07.2017 10:27:48

Related product manuals