EasyManua.ls Logo

roco WLANmaus Z21 - Page 85

roco WLANmaus Z21
Print Icon
To Next Page IconTo Next Page
To Next Page IconTo Next Page
To Previous Page IconTo Previous Page
To Previous Page IconTo Previous Page
Loading...
85
Français
Si l‘erreur ne vient pas d‘un court-circuit, la cause peut être une surcharge de l‘installation due au
fait par ex. que plusieurs locomotives fonctionnent en même temps. Si cela se produit fréquemment,
l‘alimentation en courant de votre installation ne suft pas. Câblez un (autre) amplicateur complé-
mentaire. Vous ne devez en aucun cas utiliser un transformateur normal directement à l‘alimentation
en courant, la WLANmaus et la
Z21
peuvent être détruites.
Chapitre 3
Les menus
Les menus de la
WLAN
maus et leurs fonctions
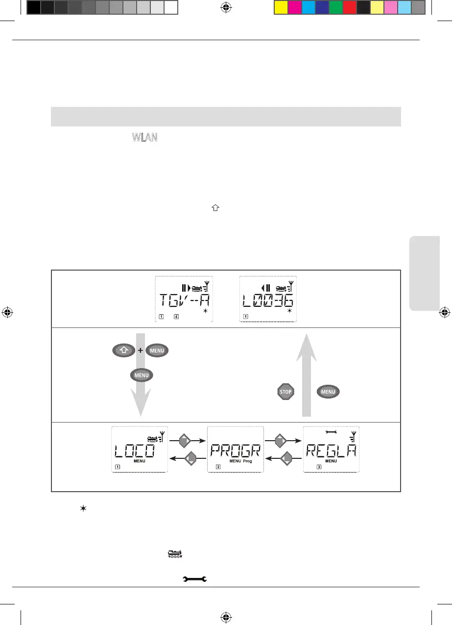
La WLANmaus dispose de trois menus principaux vous permettant une programmation complexe et une
modication facile des réglages de base de la WLANmaus. Vous avez accès à ce niveau de menus par
deux combinaisons de touches :
soit en pressant pendant env. 5 secondes uniquement la touche «MENU» (durée adaptable dans le menu
«REGLAGES»). Accès facile lors du maniement de la WLANmaus d‘une seule main,
soit en pressant simultanément les touches « » et «MENU».
Vous arrivez toujours dans le dernier menu utilisé. Si vous utilisez WLANmaus pour la première fois, c‘est
le menu «LOCOMOTIVE». Un programme d‘afchage délant intégré dans la WLANmaus vous présente
tous les noms de menu, qui ont plus de 5 lettres, comme texte délant.
Dans les illustrations de l‘écran d‘afchage de ce mode d‘emploi, le nom du menu est indiqué en abrégé,
le nom entier se trouve directement sous l‘illustration.
ou
ou
5 secondes environ
oder
REGLAGESPROGRAMMERLOCO
Point de départ :
Fonctionnement normal
Par une des touches «èches» vous parcourez les possibilités du menu principal activé. En pressant la
touche « OK» vous activez ensuite le menu secondaire choisi. Tous les menus principaux et secondaires
sont numérotés. Le numéro du menu afché s’éclaire en bas de l’écran.
En vue d’une identication claire des trois menus principaux, un symbole correspondant s’éclaire égale-
ment en sus de la mention «MENU». Il reste éclairé lorsque vous activez un de ses menus secondaires :
Menu n° 1 «LOCO» : symbole « »
Menu n° 2 «PROGRAMMER» : paraphe «PROG»
Menu n° 3 «REGLAGES» : symbole « »
Les menus
8010813920.indd 85 13.07.2017 10:27:55

Related product manuals