EasyManua.ls Logo

Royce Cube - Page 11

Default Icon
19 pages
Print Icon
To Next Page IconTo Next Page
To Next Page IconTo Next Page
To Previous Page IconTo Previous Page
To Previous Page IconTo Previous Page
Loading...
9
D
1
L
1
EE
4
M6*35
KK
2
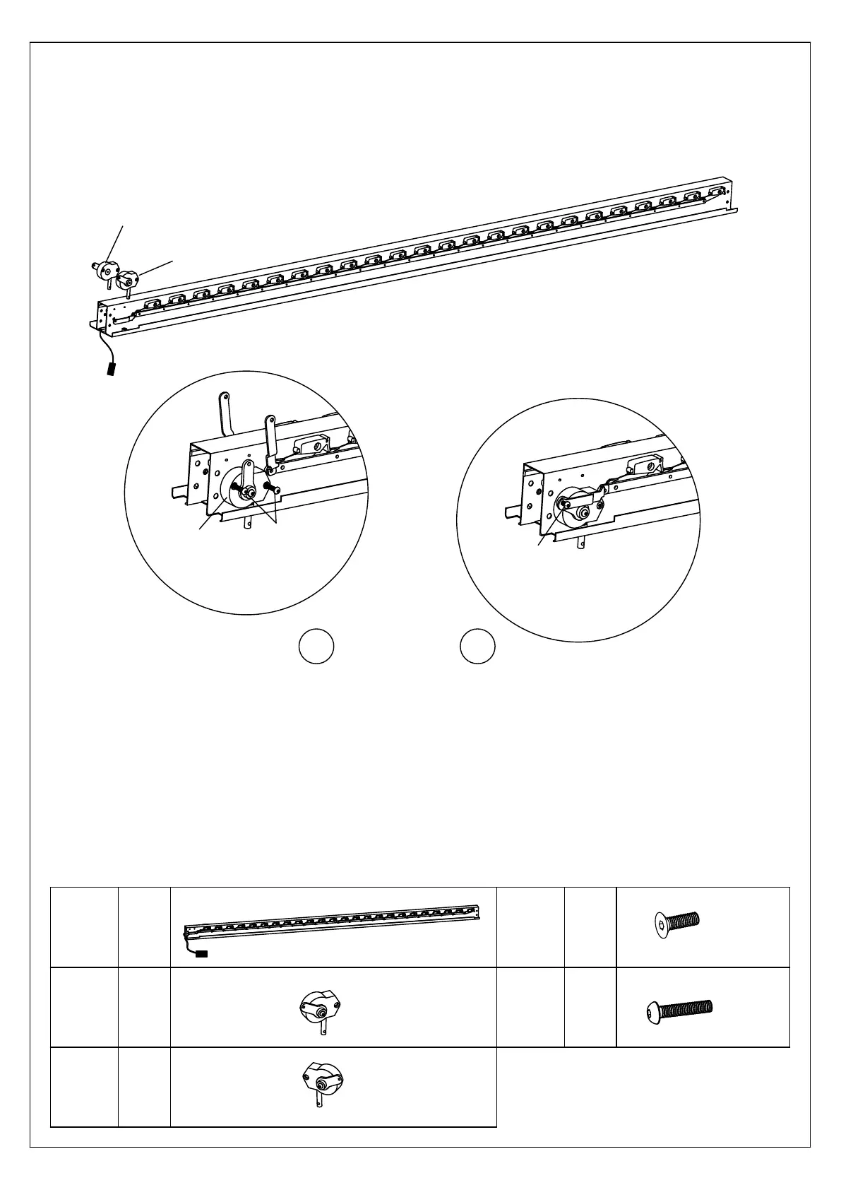
Insert the screwdriver through the hole in the lower part of the mechanism and rotate
the arm to an upright position.
M
1
L
M
L
EE
KK
6
7
M6*13
Parts
Step 6