EasyManua.ls Logo

Ryobi RY42102 - Page 54

Ryobi RY42102
256 pages
Print Icon
To Next Page IconTo Next Page
To Next Page IconTo Next Page
To Previous Page IconTo Previous Page
To Previous Page IconTo Previous Page
Loading...
Page 20 — English
Always cut with both feet on solid ground to
prevent being pulled off balance.
Do not cut above chest height as a saw held
higher is difficult to control against kickback
forces.
Do not fell trees near electrical wires or buildings.
Leave this operation for professionals.
Cut only when visibility and light are adequate
for you to see clearly.
FELLING TREES
See Figures 12 - 15.
HAZARDOUS CONDITIONS
WARNING:
Do not fell trees during periods of high wind or
heavy precipitation. Wait until the hazardous
weather has ended.
WARNING:
Closely check for broken or dead branches,
which could fall while cutting and do not cut
near buildings or electrical wires if you do not
know the direction of tree fall. Do not cut at
night or during bad weather conditions, such as
rain, snow, or strong winds, which can reduce
visibility and control of the chain saw. If the tree
you are felling makes contact with any utility
line, you should discontinue use of the chain
saw and immediately notify the utility company.
Failure to follow these instructions could result
in death or serious personal injury.
When felling a tree, it is very important that you
closely follow these warnings and instructions to
prevent possible death or serious personal injury.
Do not cut down trees having an extreme lean
or large trees with rotten limbs, loose bark,
or hollow trunks. Have these trees pushed or
dragged down with heavy equipment, then cut
them up.
Do not cut trees near electrical wires or
buildings.
Check the tree for damaged or dead branches
that could fall and hit you during felling.
OPERATION
Periodically glance at the top of the tree during
the backcut to assure the tree is going to fall in
the desired direction.
If the tree starts to fall in the wrong direction,
or if the saw gets caught or hung up during the
fall, leave the saw and save yourself!
Felling a tree — When bucking and felling
operations are being performed by two or more
persons, at the same time, the felling operation
should be separated from the bucking operation
by a distance of at least twice the height of the
tree being felled. Trees should not be felled in a
manner that would endanger any person, strike
any utility line or cause any property damage. If
the tree does make contact with any utility line, the
utility company should be notified immediately.
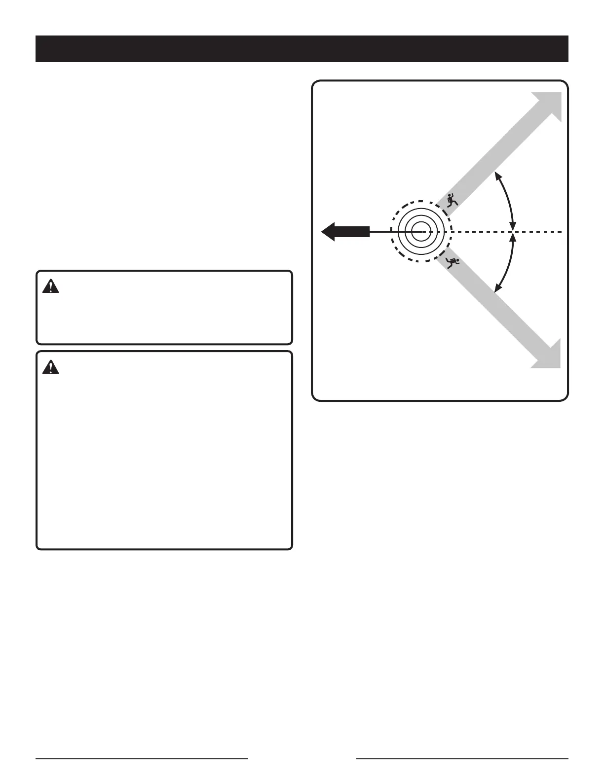
Before any cuts are started, pick your escape
route (or routes in case the intended route is
blocked); clear the immediate area around the
tree and make sure there are no obstructions in
your planned path of retreat. Clear paths of safe
retreat should extend back and diagonally (45°)
to the rear of the planned line of fall. When the
Fig. 12
45°
45°
PLANNED
LINE OF FALL
RETREAT PATH
RETREAT PATH

Table of Contents

Related product manuals