EasyManua.ls Logo

Ryobi RY42102 - Page 88

Ryobi RY42102
256 pages
Print Icon
To Next Page IconTo Next Page
To Next Page IconTo Next Page
To Previous Page IconTo Previous Page
To Previous Page IconTo Previous Page
Loading...
Page 20 — Français
Ne pas couper au-dessus du niveau des
poitrine, car il est difficile de contrôler une scie
maintenue plus haut en cas de rebond.
Ne pas abattre d’arbres se trouvant à proximité
de lignes électriques ou de bâtiments. Ce type
de travail doit être confié à des professionnels.
Ne couper que lorsque la visibilité et la lumière
permettent de voir clairement.
ABATTAGE D’ARBRES
Voir les figures 12 à 15.
SITUATIONS DANGEREUSES
AVERTISSEMENT :
Ne pas effectuer d’abattage par grand vent ou
en cas de fortes précipitations. Attendre que le
temps se calme.
AVERTISSEMENT :
Surveiller attentivement les branches brisées ou
mortes qui peuvent tomber pendant le taillage
et éviter de tailler près des édifices ou fils
électriques si la direction de la chute de l’arbre
est incertaine. Ne pas tailler le soir ou pendant
des conditions climatiques mauvaises, comme
sous la pluie, la neige, lors de vents forts. Ces
conditions peuvent réduire la visibilité et la
manoeuvrabilité de la scie à chaîne. Si l’arbre
à abattre entre en contact avec tout câble de
service public, il faut cesser l’utilisation de la
scie à chaîne et informer immédiatement le
fournisseur de service public. Ne pas suivre ces
directives peut causer des blessures graves ou
mortelles.
Lorsque vous abattez un arbre, il est très important
de respecter les avertissements et de suivre les
instructions pour prévenir la possibilité de mort ou
de blessures personnelles.
Ne pas couper d’arbres extrêmement inclinés ou
de gros arbres aux branches pourries, à l’écorce
décollée ou au tronc creux. Ces arbres doivent
être poussés ou tirés à terre par un engin de
chantier lourd avant d’être débités.
Ne pas abattre d’arbres se trouvant à proximité
de lignes électriques ou de bâtiments.
UTILISATION
Regarder si l’arbre comporte des branches
mortes ou endommagées, risquant de tomber
et de heurter l’utilisateur pendant l’abattage.
Pendant la coupe du trait d’abattage, observer
de temps à autre la cime de l’arbre pour s’assurer
qu’il tombera dans la direction souhaitée.
Si l’arbre commence à tomber dans le mauvais
sens ou si la scie est pincée ou bloquée pendant
la chute, l’abandonner et s’échapper !
Abattage — Lorsque deux personnes ou plus
effectuent des opérations de tronçonnage à
proximité d’un abattage, elles doivent se trouver
à une distance correspondant à au moins deux
fois la hauteur de l’arbre abattu. Les arbres
ne doivent pas être abattus d’une manière
risquant de mettre quiconque en danger, de
heurter une ligne électrique ou de causer des
dommages matériels. Si une ligne électrique
est heurtée, la compagnie d’électricité doit être
immédiatement notifiée.
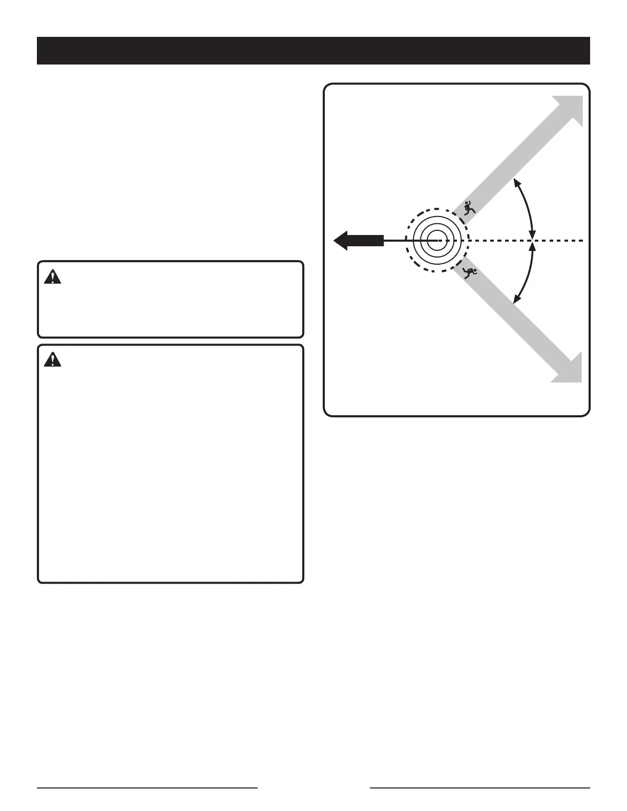
Avant de commencer une coupe, déterminer
un chemin d’échappement (ou plusieurs au
cas ou le chemin prévu serait bloqué) déblayer
les environs immédiats et s’assurer qu’aucun
Fig. 12
45°
45°
LIGNE DE
CHUTE
PRÉVUE
CHEMIN D’ÉCHAPPEMENT
CHEMIN D’ÉCHAPPEMENT

Table of Contents

Related product manuals