EasyManua.ls Logo

Salora DCH7100 - Page 12

Salora DCH7100
33 pages
Print Icon
To Next Page IconTo Next Page
To Next Page IconTo Next Page
To Previous Page IconTo Previous Page
To Previous Page IconTo Previous Page
Loading...
EN - 8
ATTENTION: The dryer can only be placed on
washing machines that have a capacity for equal and
above.

part must be used between the two products. The

Service Provider.
When the dryer is placed on the washing machine,
the total weight of these products may reach almost
150 kilograms (when loaded). Place the products on

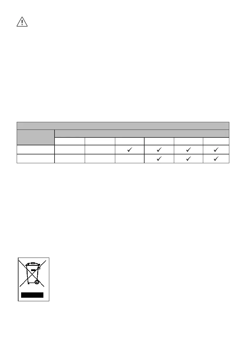
Appropriate Installation Table for Washing Machine and Tumble Dryer
Tumble Dryer
(Depth)
Washing Machine
37 cm 42 cm 53 cm 56 cm 59 cm 85 cm
56 cm X X
61 cm X X X
(For the depth information, please see 7. Technical Specications)
In order to put the dryer machine onto the washing
machine, a special stacking kit is required as an
optional extra. Please contact customer service to
acquire. The assembly instruction will be served
together with the stacking kit.
CE Declaration of conformity
We declare that our products meet the applicable European Directives, Decisions and
Regulations and the requirements listed in the standards referenced.
Disposing the Old Product
This product complies with EU WEEE Directive

and electronic equipment (WEEE).
This symbol, which is found on the product or information label, indicates
that this product must not be disposed together with other household waste
at the end of its service life. To prevent the potential harms of uncontrolled
waste disposal on the environment and human health, please keep this
product separate from other types of waste, and to prevent sustainable
reuse of material resources, make sure that it is recycled responsibly.
Contact your dealer or local authorities to get information on how and where you can take
the product for environmentally-safe recycling. This product cannot be mixed with other
commercial wastes for recycling.