EasyManua.ls Logo

Samsung RT18M6215SR - Page 150

Samsung RT18M6215SR
192 pages
Print Icon
To Next Page IconTo Next Page
To Next Page IconTo Next Page
To Previous Page IconTo Previous Page
To Previous Page IconTo Previous Page
Loading...
Installation
Français22
Installation
A
01
02
03 08
04
05
06
07
B
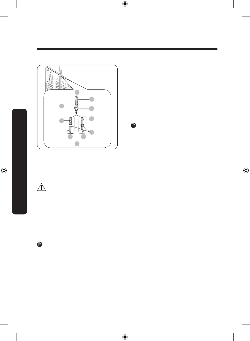
A. Réfrigérateur
B. Conduite d'eau domestique
01 Écrou de serrage (
1
/4”)
02 Bague (non fournie)
03 Tube en cuivre (non fourni)
04 Tube en plastique (assemblé)
05 Raccord à compression
06 Extrémité moulée (en forme de poire)
07 Écrou de serrage (B) (
1
/4”) (non fourni)
08 Tube en plastique (A) (non fourni)
REMARQUE
Les modèles RT**M6215* sont livrés avec les
pièces 01 et 05, alors que les modèles RT**M6213*
sont disponibles avec le Kit pour machine à glaçons
automatique en option.
1. Reliez la conduite d’eau domestique au raccord à compression assemblé.
- Si vous utilisez un tube en cuivre, faites glisser l'écrou de serrage (B) (non fourni) et la bague (non
fournie) sur le tube en cuivre (non fourni) comme illustré.
- Si vous utilisez un tube en plastique (A), insérez l'extrémité moulée (en forme de poire) du tube en
plastique (A) dans le raccord à compression.
ATTENTION
Si vous utilisez un tube en plastique (A), ne l'utilisez pas sans l'extrémité moulée (en forme de poire).
2. Serrez l'écrou de serrage (B) sur le raccord à compression. Assurez-vous de ne pas trop serrer l'écrou de
serrage (B).
3. Ouvrez l'alimentation en eau et vériez qu'il n'y a pas de fuite. Si vous détectez des gouttes ou des
fuites d'eau au niveau du raccord, fermez l'alimentation en eau principale. Vériez les branchements et
resserrez si nécessaire.
4. Après avoir mis le réfrigérateur en marche, patientez 1 à 2 jours avant de vous servir de la machine
à glaçons. Pendant cette période, jetez les 1 ou 2 premiers bacs de glaçons an d’évacuer toutes les
impuretés de la conduite d’eau.
REMARQUE
Si vous devez réparer ou démonter la conduite d'eau, coupez environ
1
/4” du tube en plastique an
d'assurer un raccordement sûr et étanche.
Si vous laissez débranchée la conduite d'eau, le robinet d'arrivée d'eau peut produire un bourdonnement
au l du temps.
Si le réfrigérateur n'est pas alimenté en eau, assurez-vous d'éteindre la machine à glaçons.
Untitled-3 22 2021-05-21  12:26:10

Table of Contents

Related product manuals