EasyManua.ls Logo

Sanyo AVP4232 - Page 8

Sanyo AVP4232
36 pages
Print Icon
To Next Page IconTo Next Page
To Next Page IconTo Next Page
To Previous Page IconTo Previous Page
To Previous Page IconTo Previous Page
Loading...
Preparations
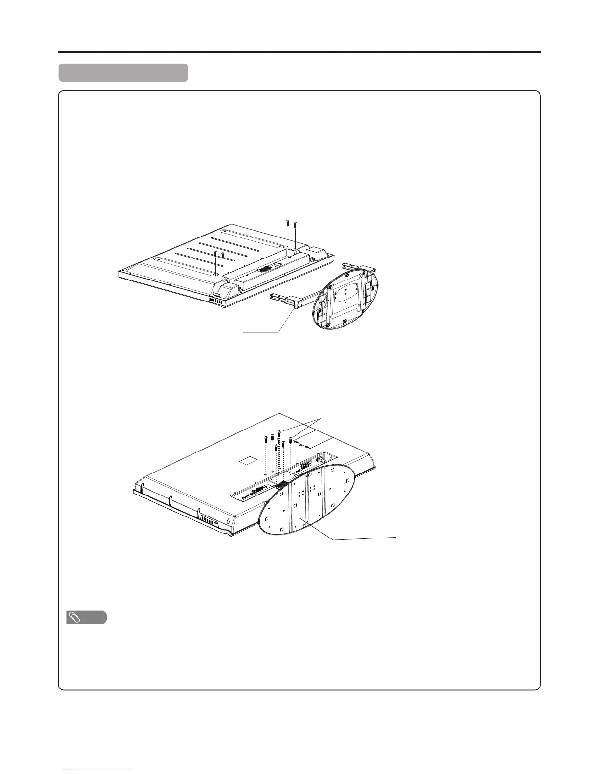
Removing the Stand
Loosen the screws on the
Stand to remove the Stand.
! Do not remove the stand from the Display unless using an optional bracket to mount it.
! The appearance of the unit may differ from the actual one.
! To attach the stand, perform the steps in reverse order.
Cautions:
1. Carefully handle the unit during setup and consult authorized service personnel to ensure successful
installation.
2. Before performing work spread cushioning over the base area to lay the Display on. This will prevent it from
being damaged.
3. Disconnect the AC power cord firstly.
Screws
Stand
Note
6
Screws
Stand
(For model AVP4232/AVP504)
(For model AVL472)
(if wall mounting)
Loosen the screws on the
Stand to remove the Stand.

Related product manuals