EasyManua.ls Logo

Schou 623293 - Page 15

Default Icon
Print Icon
To Next Page IconTo Next Page
To Next Page IconTo Next Page
To Previous Page IconTo Previous Page
To Previous Page IconTo Previous Page
Loading...
15








 

 





 



 




 

 


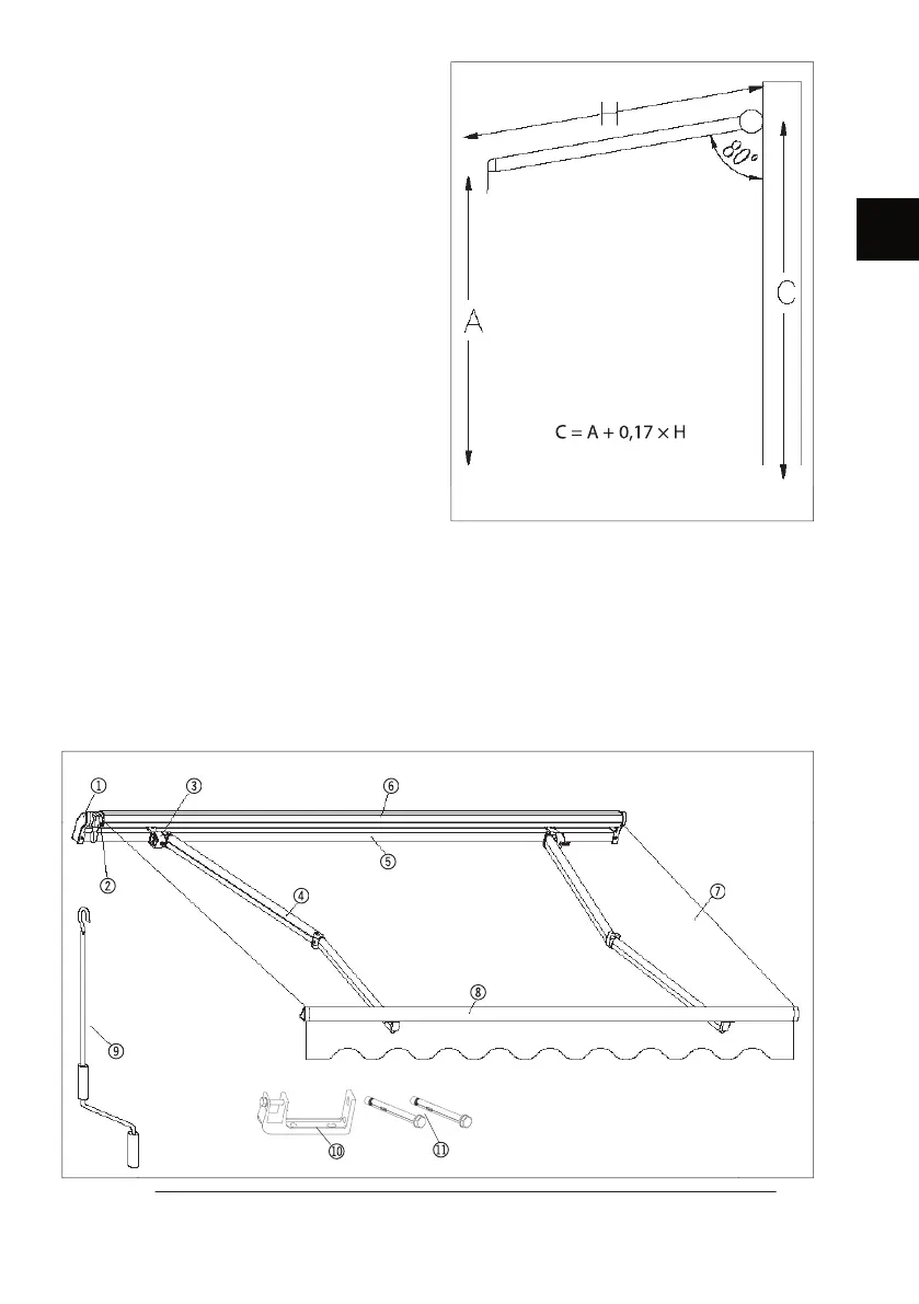
1
2
3
4
5
6
7
8
9
bl
bm
bl
bm
 


 

 

