EasyManua.ls Logo

Sealey MA10 - Page 2

Sealey MA10
2 pages
Print Icon
To Previous Page IconTo Previous Page
To Previous Page IconTo Previous Page
Loading...
Sole UK Distributor,
Sealey Group,
Bury St. Edmunds,
Suffolk.
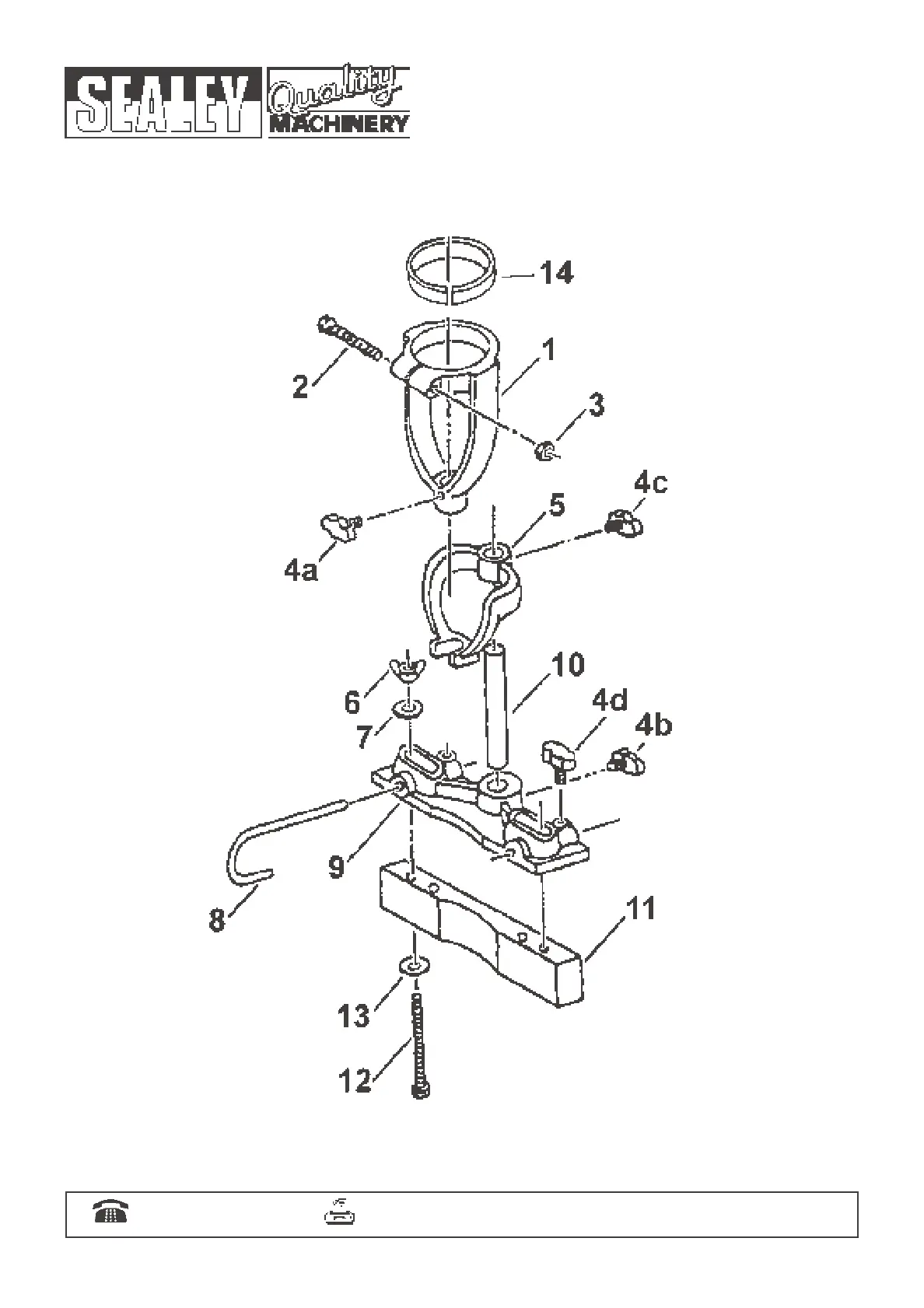
ASSEMBLY DIAGRAM FOR:
MORTISING ATTACHMENT
Model:
MA10
01284 757500 01284 703534 E-mail: sales@sealey.co.uk
MA10 - F2030 - (1) - 190301

Related product manuals