EasyManua.ls Logo

Sharp TMV Series - Machine Feed Systems

Sharp TMV Series
105 pages
Print Icon
To Next Page IconTo Next Page
To Next Page IconTo Next Page
To Previous Page IconTo Previous Page
To Previous Page IconTo Previous Page
Loading...
23
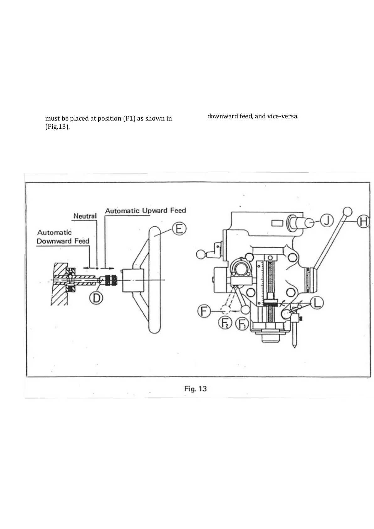
4. Manual Feed
(1) The manual feed lever is installed on the-
right side of headstock (Figure 13, H). The
spindle will travel vertically when the lever is
turned. There are 12 positions to be chosen. An
operator can freely take out the lever and install
it again at the position deemed proper and fit.
Note: In manual feed, the feed control handle (F)
must be placed at position (F1) as shown in
(Fig.13).
(2) Manual Micromotion Feed:
To effectuate the manual micromotion feed, the
power-feed transmission engagement crank (J)
(Fig.13) shall be placed at "OUT" position, and
feed reverse knob (D) at the neutral position.
Feed control lever (F) must be pulled from (F1)
to (F2). This is to engage the overload clutch.
Turn the feed handwheel (E) clockwise for quill
downward feed, and vice-versa.

Related product manuals