EasyManua.ls Logo

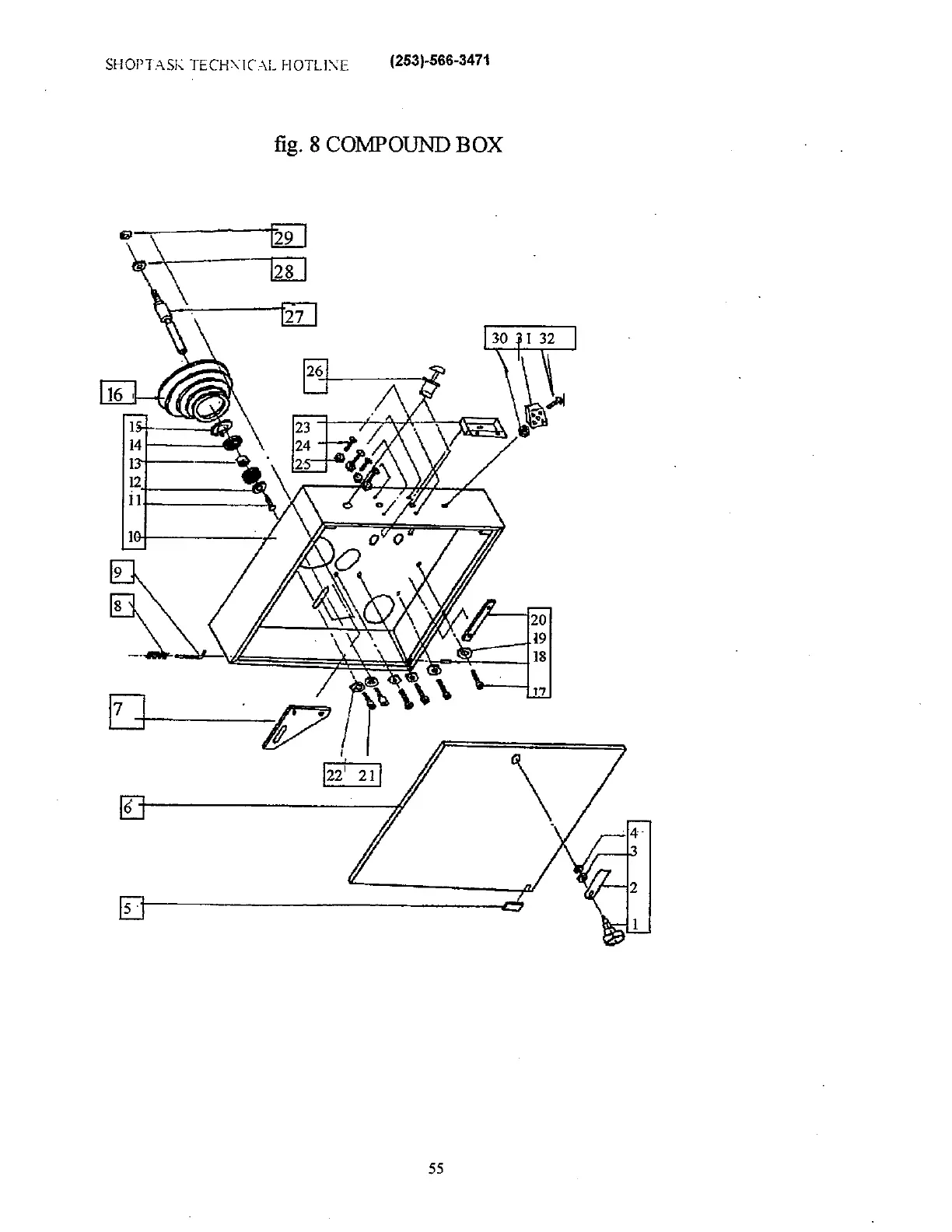
SHOPTASK 17-20 XMTC - Parts Catalog: Compound Box; Figure 8: Compound Box Components

SHOPTASK 17-20 XMTC
59 pages
Print Icon
To Next Page IconTo Next Page
To Next Page IconTo Next Page
To Previous Page IconTo Previous Page
To Previous Page IconTo Previous Page
Loading...