EasyManua.ls Logo

ShowTex EASYDRAPE - Page 5

Default Icon
13 pages
Print Icon
To Next Page IconTo Next Page
To Next Page IconTo Next Page
To Previous Page IconTo Previous Page
To Previous Page IconTo Previous Page
Loading...
[3]
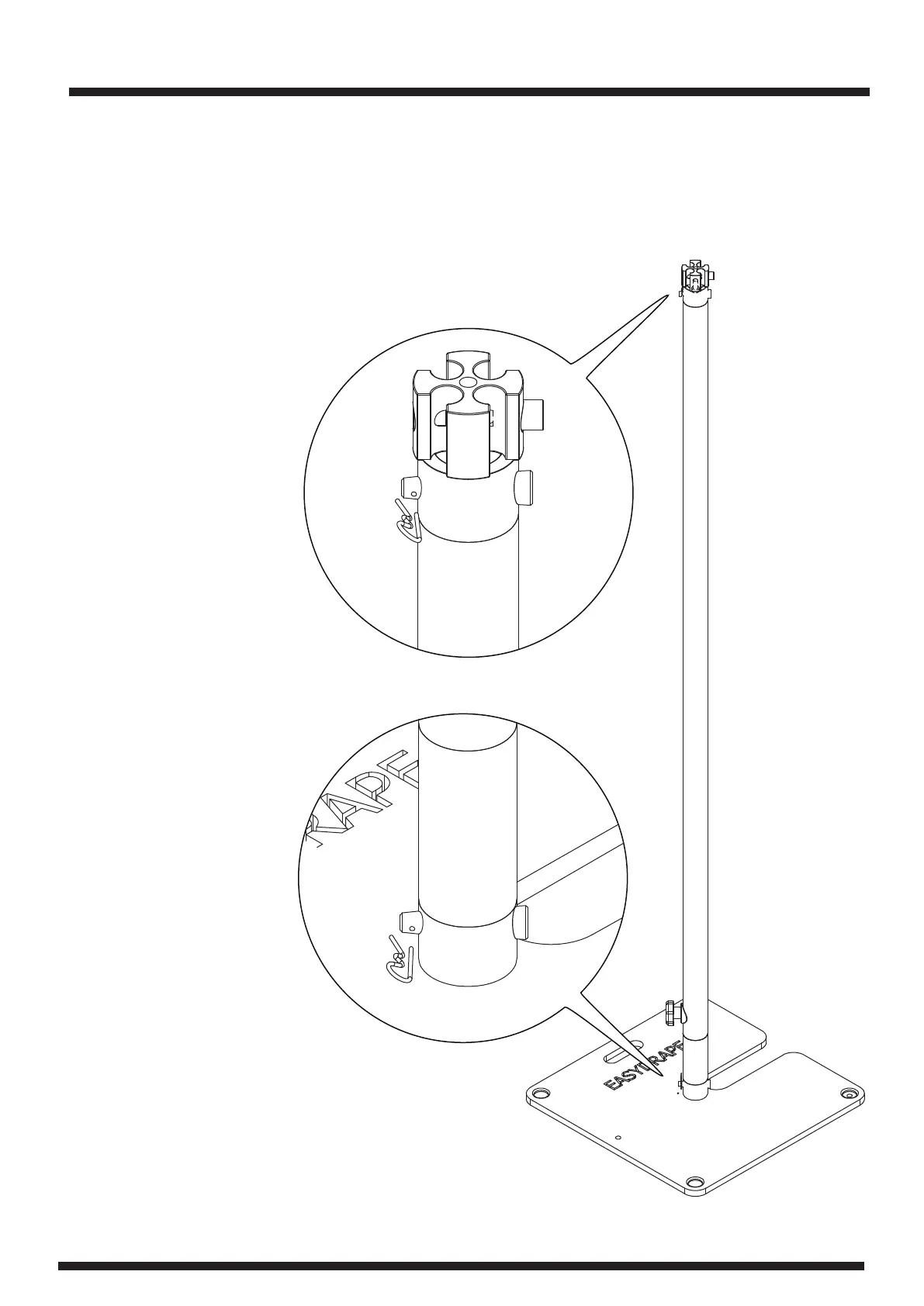
Secure the four way adaptor pieces and the Uprights
Use a safety R-spring to secure the Uprights to the plates and the base plate connectors
to the Uprights.
ASSEMBLY
05
EasyDrape Installation Manual