EasyManua.ls Logo

siat F144 - Page 147

Default Icon
171 pages
Print Icon
To Next Page IconTo Next Page
To Next Page IconTo Next Page
To Previous Page IconTo Previous Page
To Previous Page IconTo Previous Page
Loading...
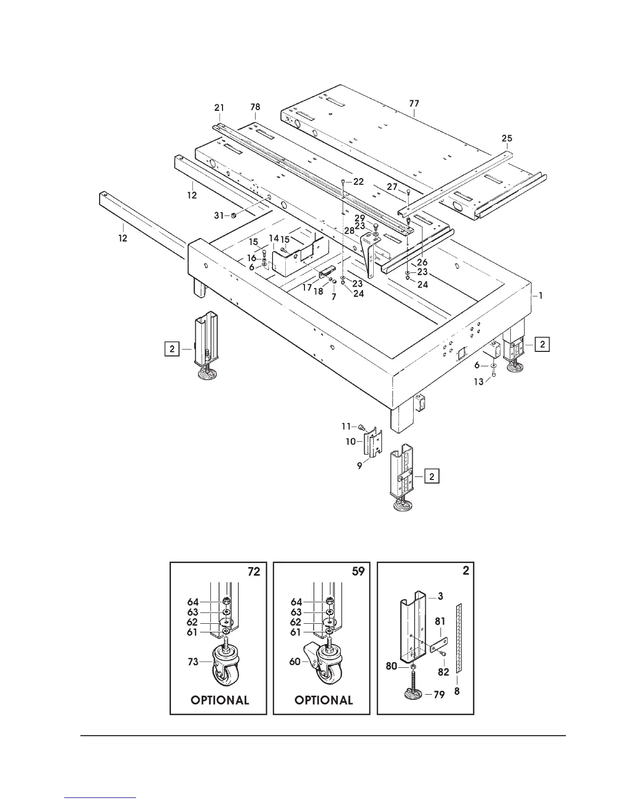
F144/4-SX Set. 2002 Fig. 6685/1