EasyManua.ls Logo

Siemens SINAMICS G180 - Direct Water Cooling Diagram

Siemens SINAMICS G180
218 pages
To Next Page IconTo Next Page
To Next Page IconTo Next Page
To Previous Page IconTo Previous Page
To Previous Page IconTo Previous Page
Loading...
Description
3.3 Accessories
Installation and Operating Instructions SINAMICS G180
Operating Instructions, 02/2019, 4BS0751-007
67
3.3.16.2
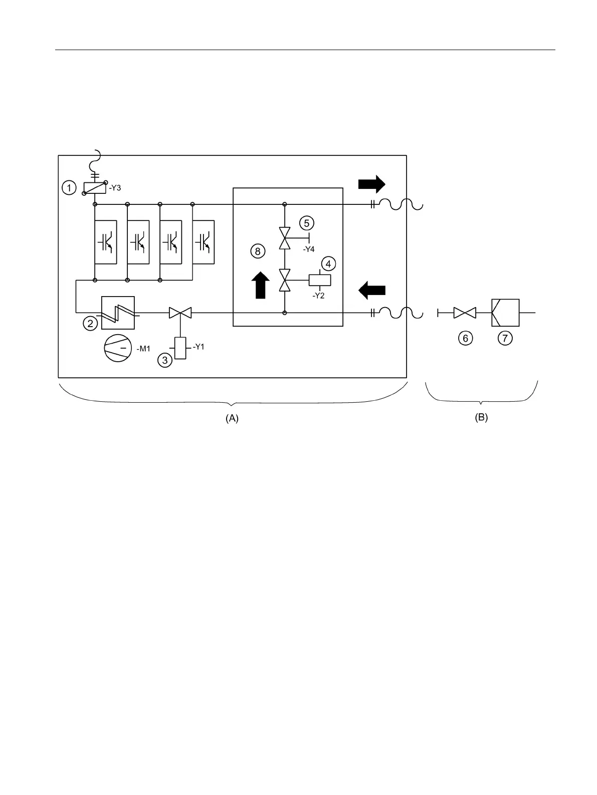
Direct water cooling diagram
Structure
(A)
Components in the inverter cabinet
(B)
Components provided by the customer
Ventilation
Air / water heat exchanger with fan for interior
Electromagnetic valve NC
Electromagnetic valve NO
Stop valve, regulation of the flow rate
Flow rate regulation valve
Filter
Bypass - The version is optional
Figure 3-13 Diagram - Direct water cooling

Table of Contents

Other manuals for Siemens SINAMICS G180

Related product manuals