EasyManua.ls Logo

Silverline 254301 - Page 70

Silverline 254301
84 pages
Print Icon
To Next Page IconTo Next Page
To Next Page IconTo Next Page
To Previous Page IconTo Previous Page
To Previous Page IconTo Previous Page
Loading...
www.silverlinetools.com
71
Kit di ritegno 254301
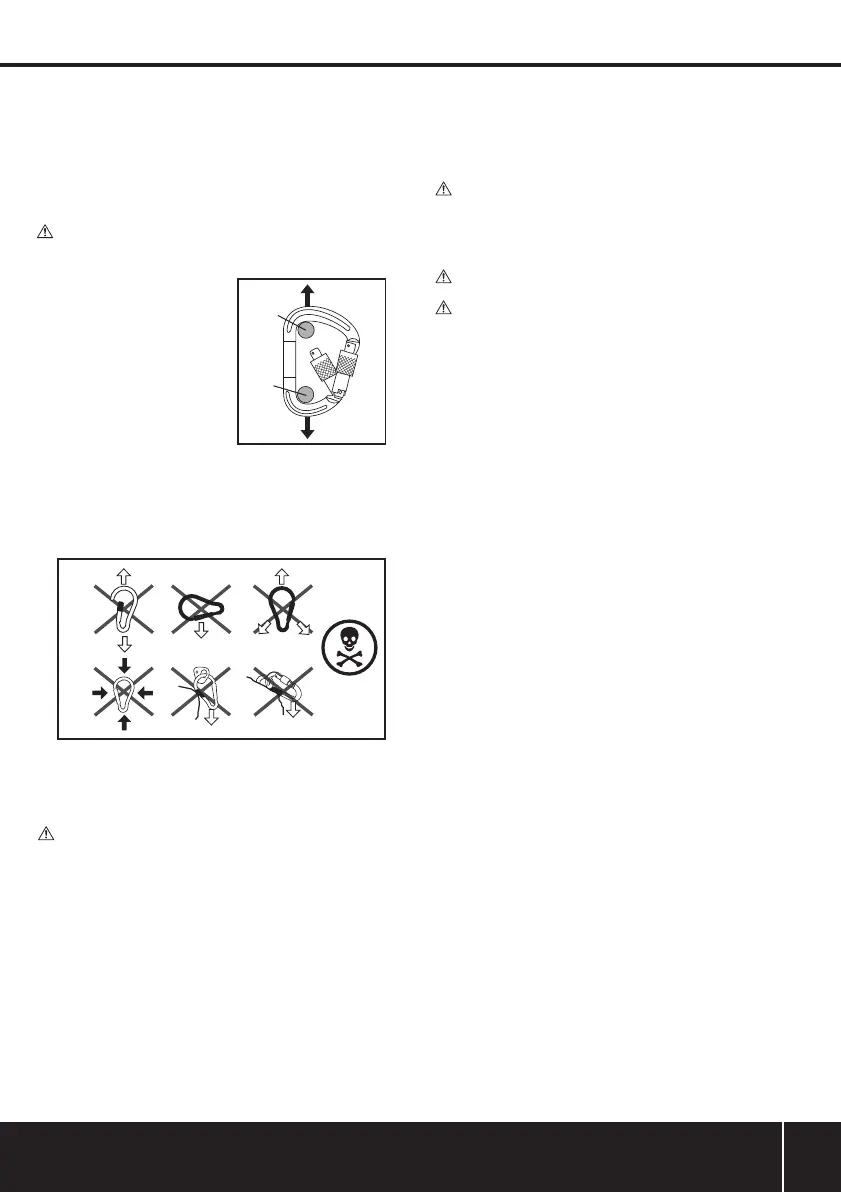
NON utilizzare connettori che non si chiude completamente al di
sopra del punto di ancoraggio
Non fare nodi in un cordino
NON collegare un cordino indietro su se stesso
NON collegare due o più moschettoni a vicenda
NON collegare due o più moschettoni in un anello a D
NON collegare moschettoni direttamente ad una linea di vita
orizzontale
ATTENZIONE: Seguire sempre le istruzioni del produttore fornite con ogni
componente del sistema.
Corretto allineamento del moschettone sotto carico
Il moschettone deve
essere installato in modo
tale che i carichi sono applicati nella
zona progettata per una forza
più grande (vedi la marcatura sul
prodotto e FIG. F + G)
L'ancoraggio o connettore di
ancoraggio deve essere seduto nel
raggio del moschettone di fronte
alla porta
NON applicare carichi di fronte al
cancello
Il moschettone deve essere in grado di muoversi liberamente e senza
interferenze durante l'uso. ALCUN vincolo o pressione esterna è
PERICOLOSO
Essere consapevoli del fatto che alcune combinazioni di
apparecchiature possono ridurre la forza effettiva del moschettone (ad
esempio, quando si collega ad bretelle larghe)
Fig. G
NB: Controllare regolarmente le connessioni con altri dispositivi nel
sistema durante l'uso, e garantire i vari componenti del sistema sono
correttamente posizionati rispetto l’uno con l'altro. Questo può salvarti
la vita!
Piano di salvataggio
ATTENZIONE: Una valutazione dei rischi adeguata e sufficiente deve
essere effettuata prima di iniziare con qualsiasi tipo di lavoro in quota, o
qualsiasi lavoro che richiede l'uso di dispositivi di protezione individuale
(DPI) come misura di controllo.
L'utente deve disporre di un piano di salvataggio ed i mezzi a
disposizione per attuarlo
Il piano deve tener conto delle attrezzature e formazione specifica
necessaria per condurre efficacemente la richiesta di soccorso in tutte
le condizioni prevedibili
Accessori
Attrezzatura anticaduta aggiuntiva, indumenti di lavoro e altri dispositivi
di protezione personali sono disponibili presso il vostro rivenditore
Silverline
Manutenzione
NB: Tutti i dispositivi anticaduta devono essere regolarmente ispezionati,
puliti e mantenuti da una persona competente, in conformità alle leggi
e ai regolamenti locali. La manutenzione deve essere registrata in un
record di servizio dedicato (vedere la fine di questo manuale).
ATTENZIONE: Eseguire un controllo visivo e tattile di tutti i componenti
ogni volta che l'apparecchio viene utilizzato. Eseguire un esame
approfondito se l'apparecchio non è stato utilizzato per qualche tempo.
NB: Un approfondito esame dettagliato delle apparecchiature deve
essere effettuato ad intervalli regolari, almeno una volta all'anno, o più
frequentemente a seconda dell'uso.
AVVERTENZA: E' ILLEGALE di procedere a qualsiasi tipo di riparazione o
modifica a questa apparecchiatura.
AVVERTENZA: Nel caso venga rilevato alcun danno, rimuovere il
materiale di servizio immediatamente. Deve quindi essere reso
inutilizzabile e scartato
Procedure di ispezione
La seguente procedura consente di rilevare i difetti potenzialmente
con conseguente degrado e / o indebolimento del Moschettone (2) e
Gancio del ponteggio (1):
1. Ispezionare per le parti mancanti o alterati. Vedere l'immagine
di'Familiarizzazione del Prodotto' per l'identificazione. Verificare che
ogni articolo è presente e non sia stato manomesso
2. Controllare l'intero moschettone o gancio per rotture, scheggiature o
rotture nel metallo. Ispezionare ogni millimetro
NB: Se necessario, pulire prima di ispezione, in modo che anche le
piccole incrinature sono visibili.
3. Controllare la deformazione, parti piegate o parti ammaccate. Aprire
il cancello e controllare il naso del moschettone o gancio per segni
di usura, deformazioni o danni
4. Ispezionare la superficie metallica per eventuali segni di corrosione.
Moschettoni in acciaio e ganci possono mostrare polvere rossa
come prova di corrosione; moschettoni in alluminio possono
sviluppare deformazioni o scale
5. Verificare la presenza di danni dovuti al calore, che di solito può
essere visto come scolorimento o oscuramento delle superfici
metalliche
6. Eseguire un test funzionale: Il meccanismo di bloccaggio
deve funzionare facilmente, e il moschettone o gancio deve
completamente aprirsi e chiudersi facilmente e senza problemi.
Quando è bloccata, il cancello NON DEVE aprirsi sotto pressione da
qualsiasi direzione
Passare lentamente la corda attraverso le mani per rilevare piccoli
difetti, abrasioni e danni torsione. Sentire per ammorbidire e indurire
delle fibre e cercare l'ingresso di contaminanti
I seguenti difetti potenzialmente provocano degradazione e / o
indebolimento del cordino:
Tagliati / rotte fibre o intaccature
Nodi, piega (diversi da quelli previsti dal costruttore) o garretto
(disfacimento a causa della rotazione costante della corda nella
stessa direzione, o in seguito ad un carico d’urto)
Fragile, fibre sfocati o usurati, sfilacciamento o abrasioni
Deterioramento generale o decolorazione
Qualsiasi tipo di modifica / tentativi di riparazione
Macchie duri o lucidi, fibre o filamenti fusi
Danni di attrito o calore indicati da fibre con un aspetto satinato che
può sentirsi più difficile di fibre circostanti
Bruciate, fibre o filamenti carbonizzati o fusi
Modifica del diametro, rispetto al diametro originale (vedere
'Specifiche Tecniche')
Corda segnata con vernice o un pennarello indelebile
Allentato, mancante, ditali corda deformate o danneggiate (3)
Danni agli occhi (tagli, intaccature, logoramento, fusione, abrasioni,
ecc)
Fig. F
Ancoraggio o
connettore di
ancoraggio
Sottosistema
di
collegamento
Direzione del carico
Direzione del carico
254301_Manual.indd 71 28/06/2017 09:08

Related product manuals