EasyManua.ls Logo

SilverStone DS380 - Guide to Hard Drive Backplane; Power and Fan Connections; SATA;SAS Channel Connections

SilverStone DS380
32 pages
Print Icon
To Next Page IconTo Next Page
To Next Page IconTo Next Page
To Previous Page IconTo Previous Page
To Previous Page IconTo Previous Page
Loading...
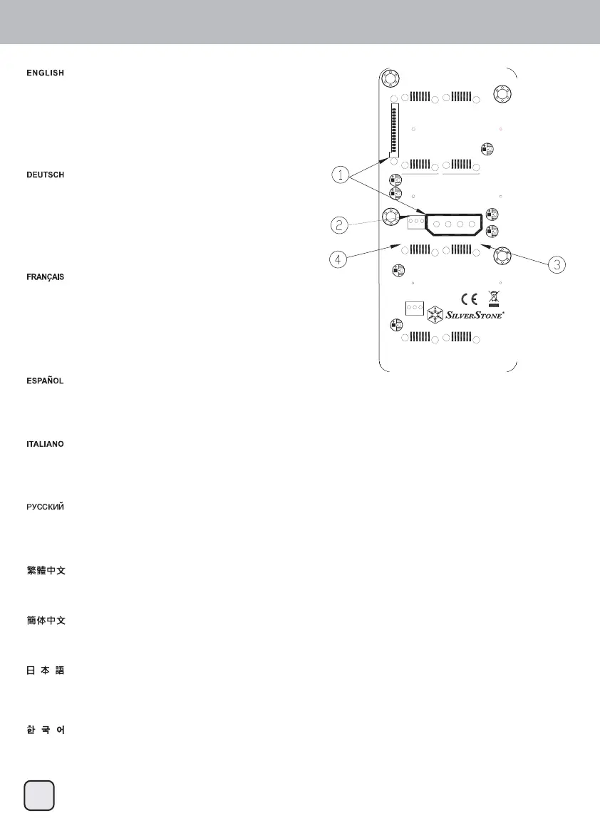
Guide to hard drive backplane
1.There are one 4pin peripheral connector and three 15pin SATA connectors,
 please do not connect all of them from one single cable from the power
 supply. Please connect them with at least two cables directly from the
 power supply.
2.Please connect case fans from the side panel to the backplane’s fan
 headers.
3.The SATA/SAS connectors on the right side are the primary channel,
 please connect them first.
4.The secondary SAS connectors on the left side are only needed by
 SAS drives. They are not mandatory if you don’t have sufficient enough
 SAS connectors from your SAS card.
1.Es gibt einen 4-poligen Peripherieanschluss und drei 15-polige SATA-
 Anschlüsse. Bitte verbinden Sie sie nicht alle von einem einzigen Kabel
 vom Netzteil. Verbinden Sie sie mit mindestens zwei Kabeln direkt vom
 Netzteil.
2.Bitte verbinden Sie Gehäuselüfter von der Seitenblende mit den
 Lüfterstiftleisten der Rückwand.
3.Die SATA/SAS-Anschlüsse auf der rechten Seite sind der primäre Kanal.
 Verbinden Sie sie zuerst.
4.Die sekundären SAS-Anschlüsse auf der linken Seite werden nur von
 SAS-Laufwerken benötigt. Sie sind nicht obligatorisch, falls Sie nicht
 genügend SAS-Anschlüsse an Ihrer SAS-Karte haben.
1.Il y a un connecteur de périphérique 4 broches et trois connecteurs
 SATA 15 broches, veuillez ne pas tous les raccorder à un seul câble
 de l'alimentation électrique. Veuillez les raccorder avec au moins deux
 câbles directement de l'alimentation électrique.
2.Veuillez raccorder les ventilateurs de boîtier du panneau latéral aux
 embases des ventilateurs du panneau arrière.
3.Les connecteurs SATA/SAS sur le côté droit sont le canal primaire,
 veuillez les raccorder en premier.
4.Les connecteurs SAS secondaires sur le côté gauche ne sont utilisés
 qu'avec des lecteurs SAS. Ils ne sont pas obligatoires si vous n'avez
 pas suffisamment de connecteurs SAS depuis votre carte SAS.
1.Hay un conector para periféricos de 4 pines y tres conectores SATA de 15 pines, por favor no los conecte todos a un único cable de la fuente de
 alimentación. Por favor, conéctelos con al menos dos cables directamente desde la fuente de alimentación
2.Por favor, conecte los ventiladores de la carcasa desde el panel lateral a los cabezales para ventilador de la placa trasera.
3.Los conectores SATA/SAS del lado derecho son el canal principal, por favor conéctelos primero.
4.Los conectores SAS secundarios del lado izquierdo son necesarios solo para los controladores SAS. No son obligatorios si no tiene suficientes
 conectores SAS en su tarjeta SAS.
1.Vi sono un connettore periferico a 4 pin e tre connettori SATA a 15 pin. Non collegarli tutti con un singolo cavo dall'alimentazione. Collegarli con
 almeno due cavi direttamente dall'alimentazione.
2.Collegare le ventole dal pannello laterale ai collettori ventola del backplane.
3.I connettori SATA/SAS sul lato destro sono il canale principale. Collegarli per primi.
4.I connettori SAS secondari sul lato sinistro sono necessari solo per le unità SAS. Non sono obbligatori se non si dispone di connettori SAS
 sufficienti dalla scheda SAS.
1.Имеются один 4-контактный разъем для периферийных устройств и три 15-контактных разъема SATA. Запрещается подключать их все к
 
одному одножильному кабелю от блока питания. Подключайте их с помощью не менее чем двух кабелей от блока питания.
2.Подсоедините разъемы корпусных вентиляторов на боковой панели к разъемам вентиляторов на соединительной панели.
3.Разъемы SATA/SAS на правой стороне являются основными, сначала подключите их.
4.Дополнительные разъемы SAS на левой необходимы только для драйверов SAS. Их
использовать необязательнотолько если
 недостаточно разъемов SAS на плате с SAS-контроллером.
1.連接電源輸入共有一個大4Pin三個SATA 15Pin,請不要使用同一條電源線連接,這四個電源接口請至少插上兩條不同電源線
2.請將側邊系統的風扇線材與背板風扇接頭連接。
3.右邊為主要傳輸排線位置,請將SATA/SAS排線接上。
4.左邊是只有SAS硬碟會使用到的第二通道排線位置,如SAS介面卡的插座不足,不一定需要接滿。
1.连接电源输入共有一个大4Pin三个SATA 15Pin,请不要使用同一条电源线连接,这四个电源接口请至少插上两条不同电源线
2.请将侧边系统的风扇线材与背板风扇接头连接。
3.右边为主要传输扁平电缆位置,请将SATA/SAS扁平电缆接上。
4.左边是只有SAS硬盘会使用到的第二信道扁平电缆位置,如SAS适配卡的插座不足,不一定需要接满。
1.4핀 주변장치 커넥터 1개와 15핀 SATA 커넥터 3개가 있습니다. 하나의 케이블로 전원 공급장치에서 이 모든 커넥터를 연결하지 마십시오.
 최소 2개의 케이블로 전원 공급장치에서 직접 커넥터를 연결하십시오.
2.케이스 팬은 측면 패널에서 백플레인의 팬 헤더로 연결하십시오.
3.오른쪽의 SATA/SAS 커넥터가 기본 채널입니다. 먼저 이 커넥터부터 연결하십시오.
4.왼쪽에 있는 보조 SAS 커넥터는 SAS 드라이브에만 필요합니다. SAS 카드에 SAS 커넥터 수가 충분하지 않을 경우 이는 필수 사항이 아닙니다.
1.1基の4ピン周辺機器コネクタおよび3基の15ピンSATAコネクタがありますが、電源からそれらを単一のケーブルで同時に接続しないでください。電源からは
 最低2本のケーブルを使用してコネクタ接続を行ってください。
2.ケースファンは側面パネルからバックプレーンのファンヘッダに接続します。
3.右側のSATA/SASコネクタはプライマリチャンネルなので、これを先に接続します。
4.左側のSASコネクタは、SASドライブにのみ必要とされます。ご使用のSASカードからのコネクタ数が十分でなければ必須条件ではありません。
EC4 EC8
5V 12V
EC3 EC7
SAS7
JP3
SAS8 SATA8
SATA7
EC2
FAN 1
SAS6
FAN 2
EC13
SAS5 SATA5
C219_SAS
REV 2.0
2018.04.23
EC5
SATA6
15

Related product manuals