EasyManua.ls Logo

Simplex 2120 - Page 17

Simplex 2120
40 pages
Print Icon
To Next Page IconTo Next Page
To Next Page IconTo Next Page
To Previous Page IconTo Previous Page
To Previous Page IconTo Previous Page
Loading...
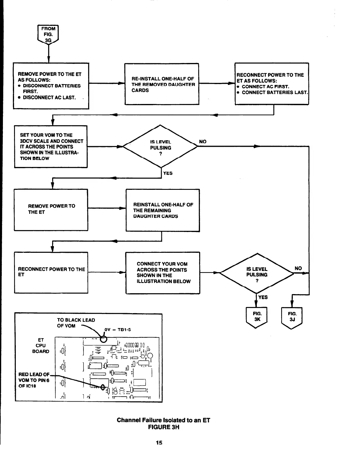
FROM
FIG.
36
P
REMOVE POWER TO THE ET
AS FOLLOWS:
. DISCONNECT BAlTERlES
FIRST.
. DISCONNECT AC LAST.
RE-INSTALL
UNI
---E-HALF OF
1
RECONNECT POWER TO THE
_ _._-..--- -
THE REMOVED DAUGHTER
I
ET AS FOLLOWS:
. CONNECT AC FIRST.
CARDS
. CONNECT BATTERIES LAS1
I
SET YOUR VOM TO THE
3DCV SCALE AND CONNECT
IT
ACROSS
THE POINTS
SHOWN IN THE ILLUSTRA-
TION BELOW
I
REMOVE POWER TO
H
REINSTALL ONE-HALF OF
THE ET
THE REMAINING
DAUGHTER CARDS
H
CONNECT YOUR VOM
RECONNECT POWER TO THE
ACROSS THE POINTS
ET
SHOWN IN THE
ILLUSTRATION BELOW
J
ET
CPU
BOARD
RED LEAD OF
VOM TO PIN 8
OF IC18
TO BLACK LEAD
OF VOM
= TB13
Channel Failure Isolated to an ET
FIGURE 3H
15
firealarmresources.com

Other manuals for Simplex 2120

Related product manuals