EasyManua.ls Logo

Simplex 2120 - Page 22

Simplex 2120
40 pages
Print Icon
To Next Page IconTo Next Page
To Next Page IconTo Next Page
To Previous Page IconTo Previous Page
To Previous Page IconTo Previous Page
Loading...
A
-~
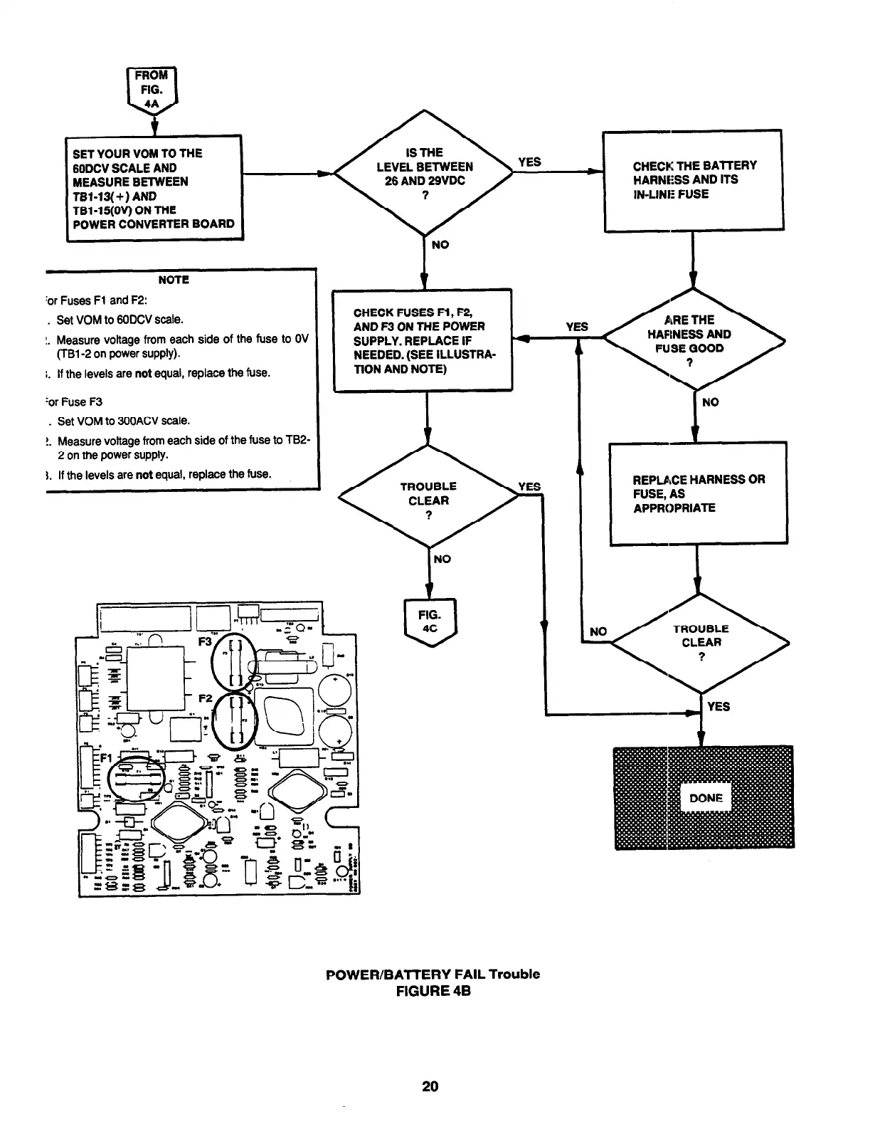
SET YOUR VOM TO THE
GODCV SCALE AND
MEASURE BETWEEN
26 AND 29VDC
/
NOTE
:or Fuses Fl and F2:
. set VOM to 6oDCV scale.
I. Measure voltage from each side of the fuse to OV
(TBl-2 on power supply).
I. If the levels are
not
equal, replace the fuse.
:or Fuse F3
_ Set VOM to 300ACV scale.
!. Measure voltage from each side of the fuse to TB2-
2 on the power supply.
1. If the levels are
not
equal, replace the fuse.
I
NO
CHECK FUSES Fl , F2,
AND F3 ON THE POWER
SUPPLY. REPLACE IF
NEEDED. (SEE ILLUSTRA-
TION AND NOTE)
CHECKTHEBAHERY
HARNESS AND ITS
IN-LINE FUSE
I
NO
--l--
REPLACE HARNESS OR
FUSE, AS
APPROPRIATE
L,
POWERlBAmERY FAIL Trouble
FIGURE 48
20
firealarmresources.com

Other manuals for Simplex 2120

Related product manuals