EasyManua.ls Logo

SmartDisk PhotoBank - Page 10

SmartDisk PhotoBank
80 pages
Print Icon
To Next Page IconTo Next Page
To Next Page IconTo Next Page
To Previous Page IconTo Previous Page
To Previous Page IconTo Previous Page
Loading...
2
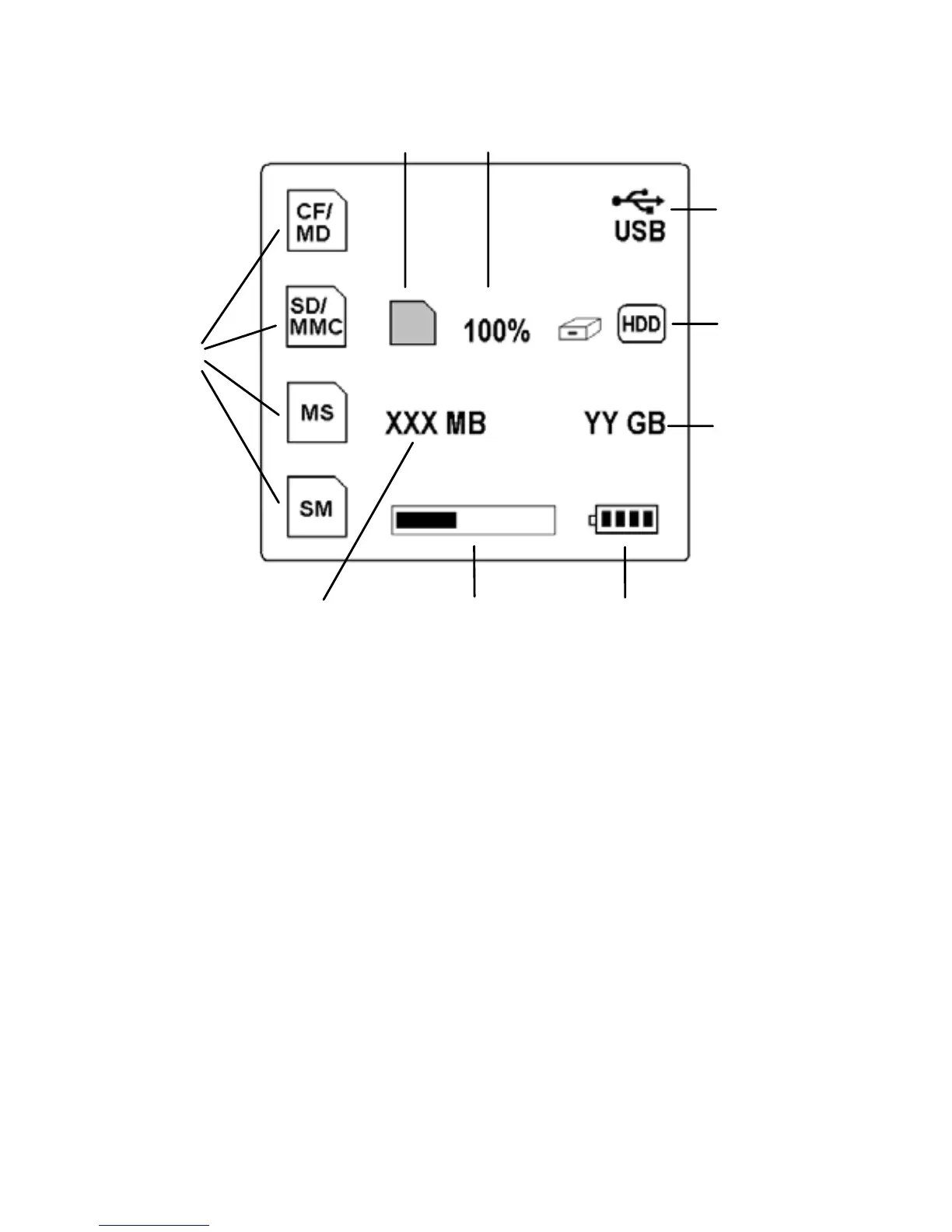
1. Memory Card Icons. When each type of card is inserted its
icon will be shown here.
2. Generic Memory Card Icon. This icon is displayed when any
type of card is inserted and detected.
3. Copy Function Progress Percentage. After the full contents of
the card have been successfully copied, the number will show
ā€œ100%ā€ as your confirmation.
4. USB Icon. This icon will be displayed whenever you are
connected to a computer using the USB interface.
5. Hard Disk Drive Icon. This icon will display to confirm the
ready status of the internal disk drive.
6. Hard Disk Free Space. This is a two-digit readout of the
remaining hard disk free space.
7. Battery Charge Indicator. When you see only one or no bars,
you should recharge the battery.
8. Copy Function Progress Bar. This graph will fill from left to
right to indicate progression of the copy process.
1
2
9
8
5
6
4
7
3

Table of Contents