EasyManua.ls Logo

Smeg KDD90VXE - Page 45

Smeg KDD90VXE
Print Icon
To Next Page IconTo Next Page
To Next Page IconTo Next Page
To Previous Page IconTo Previous Page
To Previous Page IconTo Previous Page
Loading...
FR
4
45
A
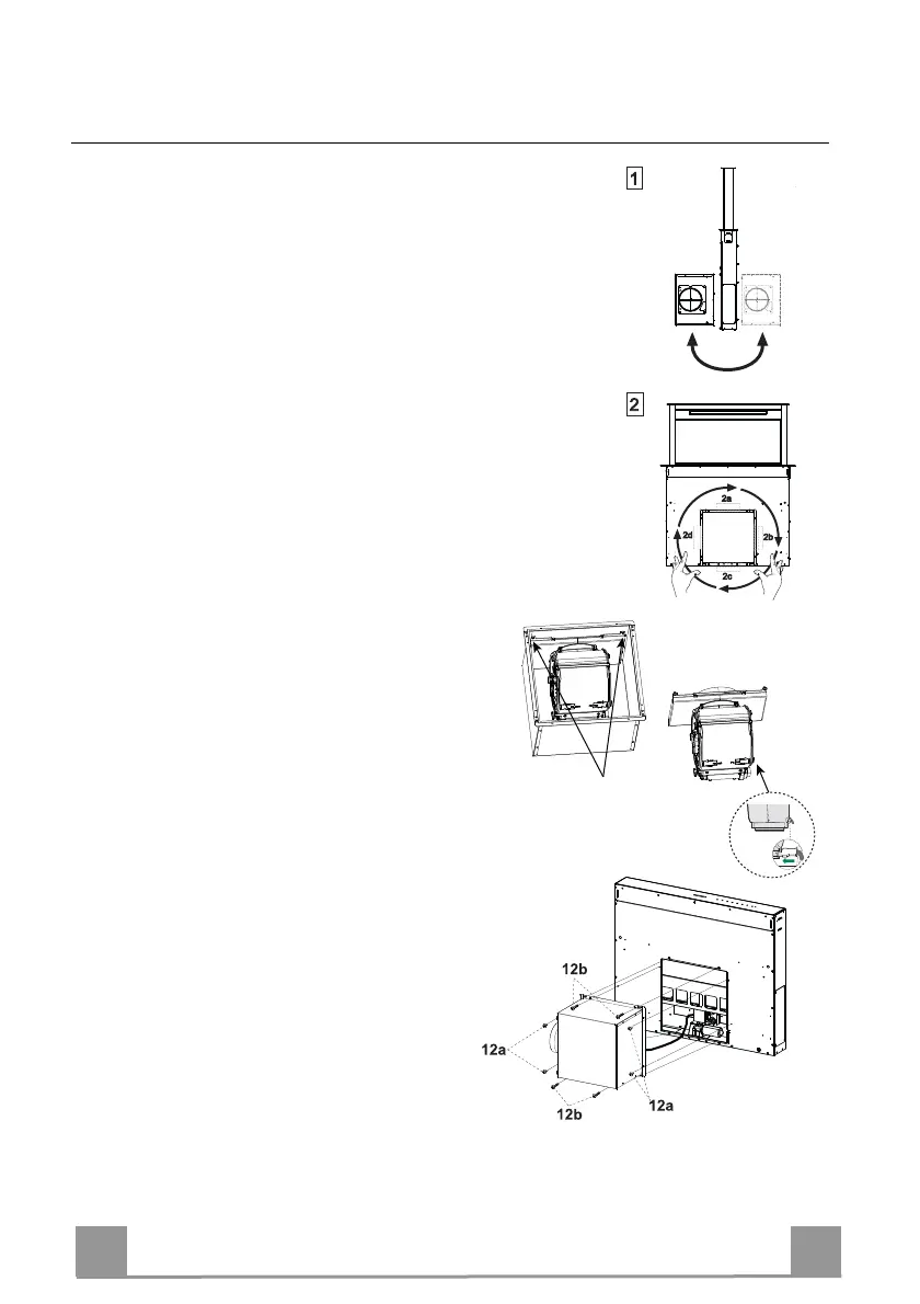
Fixation du groupe moteur
L’installation du groupe moteur (1) en position frontale ou
postérieure doit être décidée selon la prédisposition du meu-
ble de cuisine, en vérifiant que le bouchon est correctement
positionné.
Ensuite, selon l’endroit où a été réalisé le trou de sortie de
l’air sur le meuble, le groupe moteur pourra tourner de 90° à
la fois, afin de permettre la sortie de l’air des quatre côtés en
correspondance de celui du meuble (2).
Démonter le groupe moteur du support en
desserrant les 2 vis (A).
Relier le connecteur venant du corps de
hotte à la connexion du groupe moteur.
Remonter le groupe moteur sur le support,
à l’aide des 2 vis précédemment retirées.
Serrer ensuite le groupe moteur au corps de
hotte avec les vis 12a et 12b fournies,
comme indiqué dans la figure.