EasyManua.ls Logo

SodaStream PLAY - Page 35

SodaStream PLAY
72 pages
Print Icon
To Next Page IconTo Next Page
To Next Page IconTo Next Page
To Previous Page IconTo Previous Page
To Previous Page IconTo Previous Page
Loading...
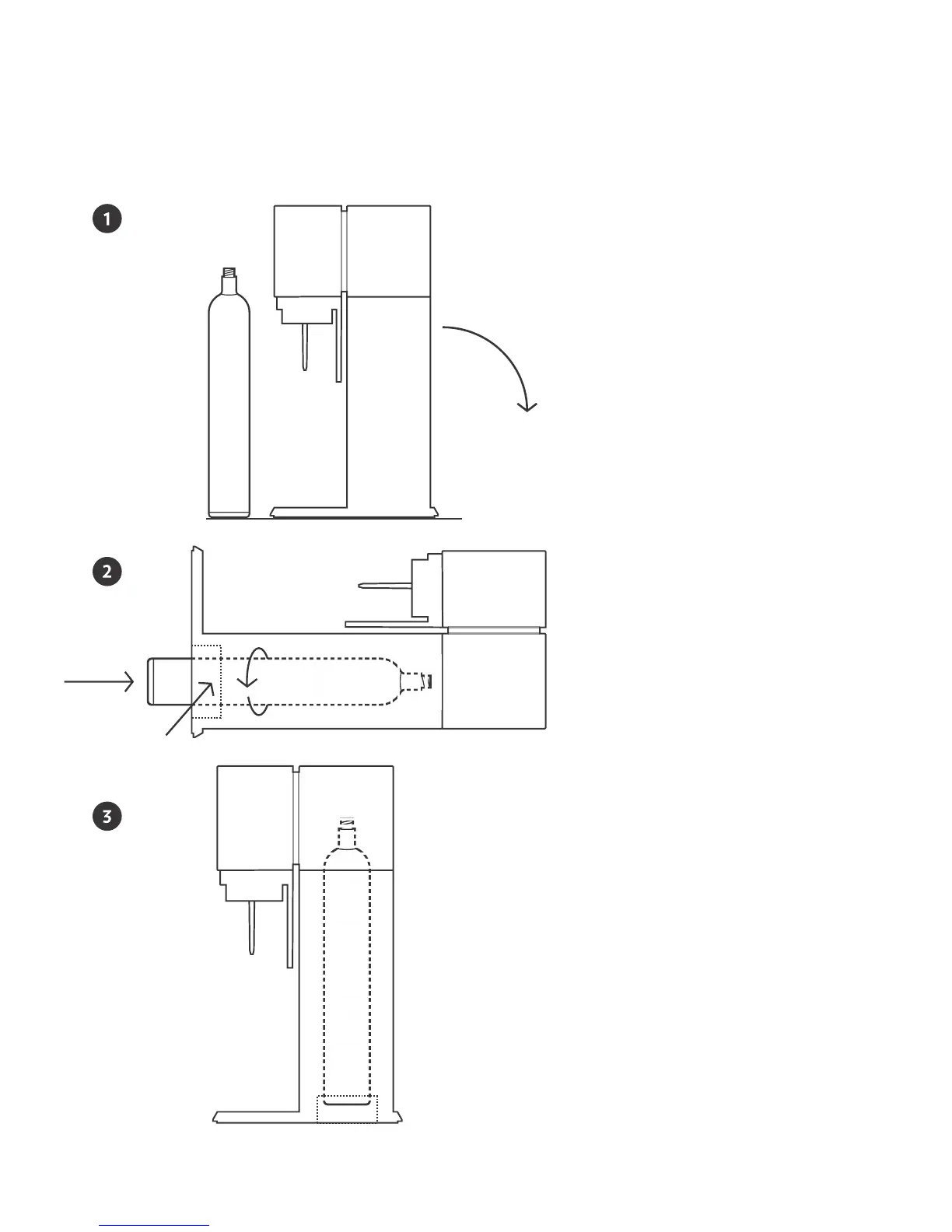
1. Aseta PLAY™-hiilihapotuslaite
tasaiselle ja tukevalle pinnalle ja
aseta se sitten varovasti selälleen
niin, että hiilihapotusosio
osoittaa ylöspäin.
2. Irrota CO -hiilidioksidisylinterin
2
sinetti ja korkki. Aseta CO -
2
sylinteri PLAY-hiilihapotus-
laitteen pohjassa olevaan
koteloon ja ännä sylinteriä
myötäpäivään samalla kun
painat sitä varovasti, kunnes se
on paikoillaan. Kiristä vain
kädellä, älä käytä työkaluja.
Jos PLAY™-hiilihapotuslaite ei
o l e s e l ä l l ä ä n n i i n , e t t ä
hiilihapotusosio osoittaa
ylöspäin, turvamekanismi
lukitsee sylinterikotelon, etkä voi
asettaa sylinteriä paikoilleen.
Jos käytät 130 l sylinteriä, tulee
s i n u n p o i s t a a s y l i n t e r i n
sovittimen kaulus vetämällä se
irti laitteen alustasta.
3. Aseta PLAY™-hiilihapotuslaite
takaisin pystysuoraan asentoon.
Nyt voit aloittaa kuplajuomien
valmistuksen.
KUINKA KOKOAT PLAY -HIILIHAPOTUSLAITTEEN
Adapterinkaulus
35

Related product manuals