EasyManua.ls Logo

SodaStream PLAY - Page 49

SodaStream PLAY
72 pages
Print Icon
To Next Page IconTo Next Page
To Next Page IconTo Next Page
To Previous Page IconTo Previous Page
To Previous Page IconTo Previous Page
Loading...
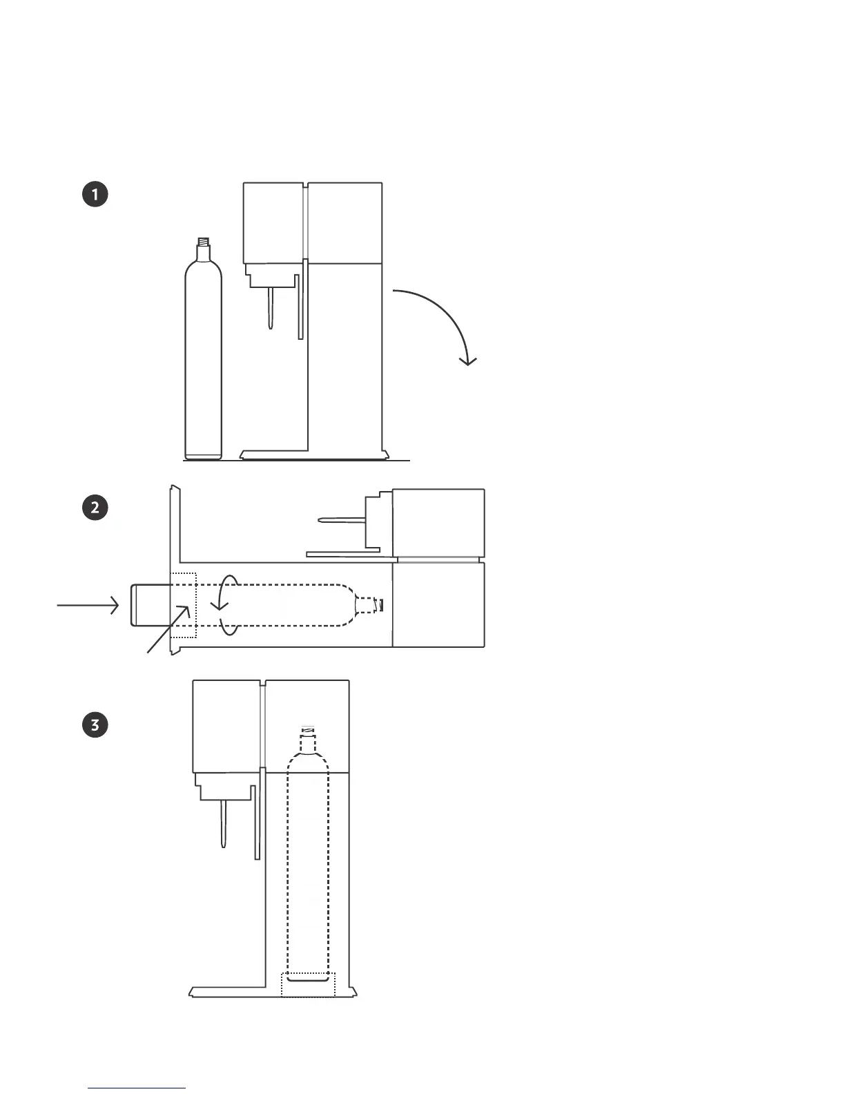
1. Anbring PLAY sodavands-
maskine på en plan, solid
overflade og læg den derefter
forsigtigt ned med kulsyre-
blokken opad.
2. Fjern forseglingen og hætten fra
kulsyrepatronen. Sæt kulsyre-
patronen ind i cylinderret i
bunden af PLAY™sodavands-
maskine og drej patronen i urets
retning under let tryk, indtil den
sidder godt fast. Benyt ikke
værktøj, kun håndkraft.
Hvis PLAY™sodavandsmaskine
ikke ligger ned med kulsyre-
blokken opad, vil en sikkerheds-
mekanisme blokere cylinder-
rørets hulning, og du vil ikke
være i stand til at sætte flasken
rigtig plads.
3. Anbring PLAYsodavands-
maskinen i opret position. Nu er
du klar til at fremstille for-
friskende bobler.
SÅDAN PLACERER DU KULSYREPATRONEN
49
Hulrum til patron
Med patron adapter

Related product manuals