EasyManua.ls Logo

SodaStream PLAY - Install the CO2 Cylinder

SodaStream PLAY
72 pages
Print Icon
To Next Page IconTo Next Page
To Next Page IconTo Next Page
To Previous Page IconTo Previous Page
To Previous Page IconTo Previous Page
Loading...
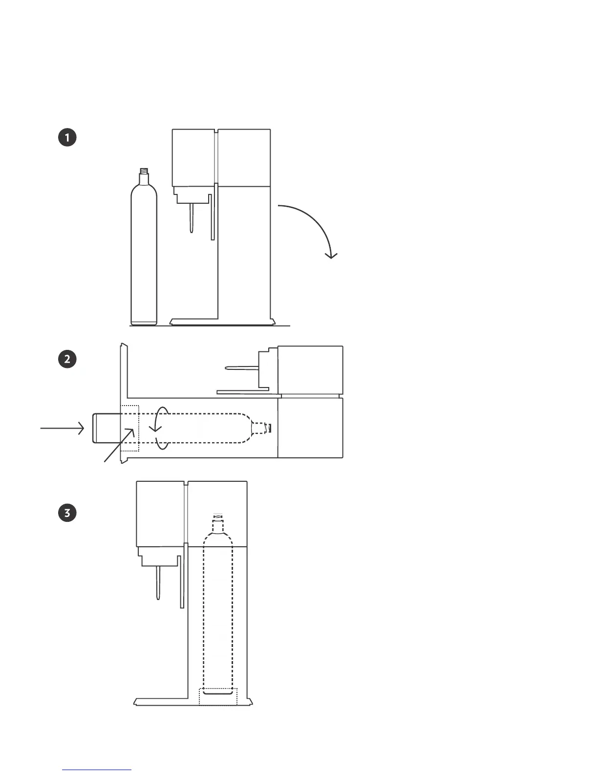
1. Place the PLAY™Drinks Maker
on a flat, sturdy surface, then
gently lay it down on its back with
the carbonating block facing
upwards.
2. Remove seal and cap from the
SodaStream CO cylinder.
2
Remove the carbonating bottle
stored inside the PLAY™and then
insert the CO cylinder into the
2
opening of the cylinder hollow at
TM
the base of the PLAY Drinks
Maker and turn the CO cylinder
2
clockwise while applying gentle
pressure until it is firmly held in
place. Hand-tighten only; do not
use tools.
TM
If the PLAY Drinks Maker is not
laying on its back with the
carbonating block facing
upwards, a safety gate will block
the cylinder hollow and you will
not be able to fully insert the
cylinder.
If using a 130L cylinder, remove
the cylinder adaptor collar by
pulling it out from the base of the
unit.
3. Place your PLAY™Drinks Maker
back in the upright position.
You are ready to create the
bubbles.
INSTALL THE CO CYLINDER
2
Adaptor
Collar
7

Related product manuals