EasyManua.ls Logo

Sony A5100 - Page 12

Sony A5100
35 pages
Print Icon
To Next Page IconTo Next Page
To Next Page IconTo Next Page
To Previous Page IconTo Previous Page
To Previous Page IconTo Previous Page
Loading...
GB
12
x
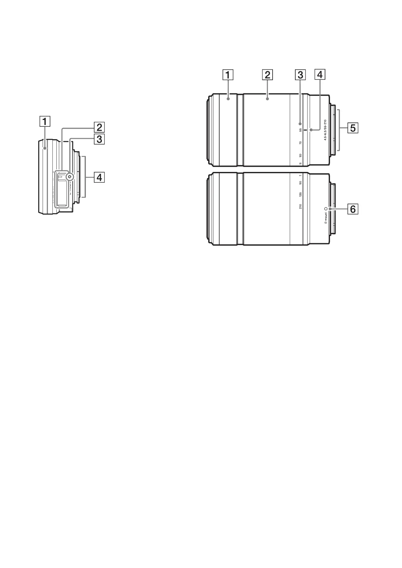
Lens
See page 33 on the specifications of
the lenses.
E PZ 16 – 50 mm F3.5 – 5.6
OSS (supplied with
ILCE-5100L/ILCE-5100Y)
A Zooming/Focusing ring
B Zooming lever
C Mounting index
D Lens contacts
1)
1)
Do not touch this part directly.
E55 – 210 mm F4.5 – 6.3
OSS (supplied with
ILCE-5100Y)
A Focusing ring
B Zooming ring
C Focal-length scale
D Focal-length index
E Lens contacts
1)
F Mounting index
1)
Do not touch this part directly.

Related product manuals