EasyManua.ls Logo

Sony BC-U2A - Page 7

Sony BC-U2A
10 pages
Print Icon
To Next Page IconTo Next Page
To Next Page IconTo Next Page
To Previous Page IconTo Previous Page
To Previous Page IconTo Previous Page
Loading...
Location and Function of Parts
Location and Function of Parts
19
China http://pro.sony.com.cn
India http://pro.sony.co.in
Location and Function of
Parts
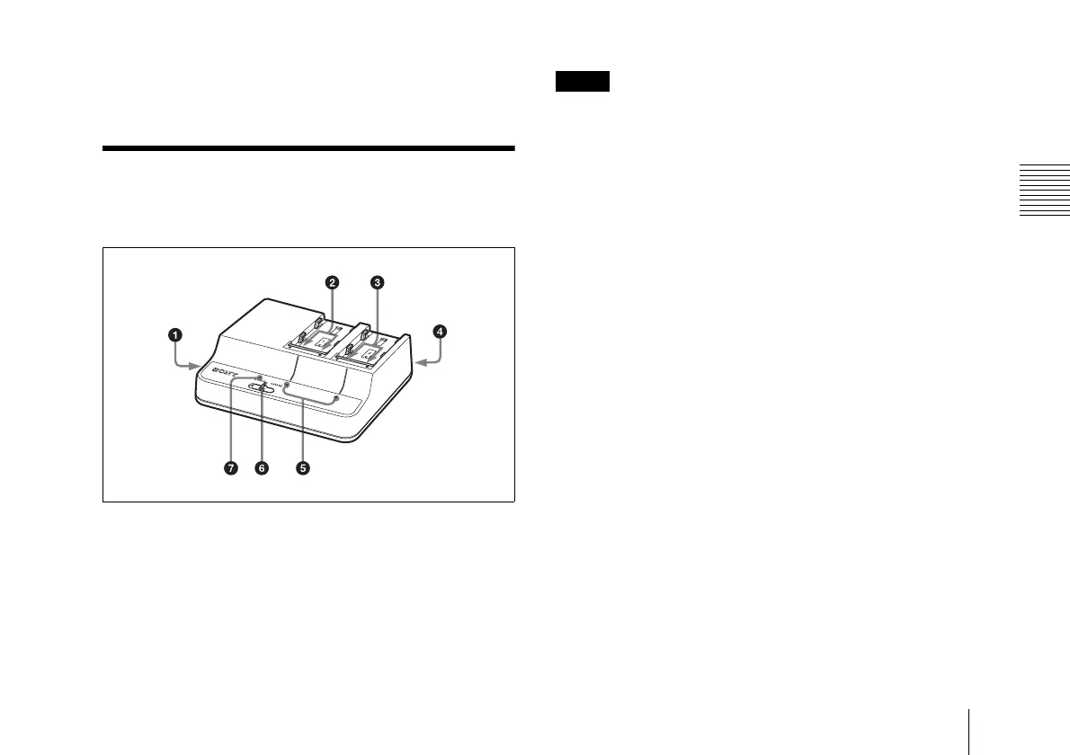
a DC OUT connector
Supplies DC power to a connected device via the supplied DC output
cable when the mode select switch is set to DC OUT.
The DC output cable has a plug with black insulation and a plug with
yellow insulation. Connect the plug with black insulation to this
apparatus and the plug with yellow insulation to the connected
device.
Do not connect a device with power requirements higher than the
specified values.
Depending on the power consumed by the connected device, the
apparatus may become warm. This is not a malfunction. Avoid
prolonged contact with the apparatus if it should become warm.
b Channel 1 charge connectors
Supplies power when the mode select switch is set to CHARGE.
c Channel 2 charge connectors
Supplies power regardless of the setting of the mode select switch.
d AC input connector
Connects to an AC power source via the AC power cord.
e CHARGE indicators
Shows the charging status of the attached battery packs during
charging of battery packs.
For details, see “Charging Battery Packs” on page 20.
f Mode select switch
CHARGE: Supplies power to the lithium-ion battery pack
connected to channel 1.
DC OUT: Supplies DC power from the DC OUT connector, and at
the same time supplies power to a lithium-ion battery pack
connected to channel 2. (A battery pack connected to channel 1
is not charged.)
g DC OUT indicator
Lights in green when the mode select switch is set to DC OUT and
DC power is being supplied.
If some trouble is detected, the indicator goes dark.
Notes

Related product manuals