EasyManua.ls Logo

Sony DSC-TX10 - Page 140

Sony DSC-TX10
219 pages
Print Icon
To Next Page IconTo Next Page
To Next Page IconTo Next Page
To Previous Page IconTo Previous Page
To Previous Page IconTo Previous Page
Loading...
TH
8
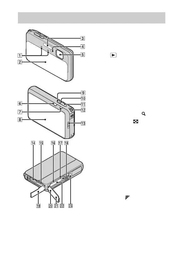
A มโครโฟน
B ฝาปดเลนส
C แฟลช
D ไฟระบบตั้งเวลา/ไฟั่นชตเตอร
ดวยรอยยิ้ม/แสงไฟชวย AF
E เลนส
F ปุม (เลนภาพ)
G ปุม MOVIE (ภาพเคลื่อนไห)
H หนาจอ/จอสมผัส
I ปุม ON/OFF (ไฟหลัก/ชารจ)
J ไฟ ON/OFF (ไฟหลัก/ชารจ)
K ปุมชตเตอร
L กรณีถายภาพ: กานปับ W/T (ซูม)
กรณีดูภาพ: กานปรับ (ซูมภาพที่
แสดง)/กานปรับ (ดัชน)
M วงรอยสายรอยขอมือ
N ชองตอ HDMI
O ชองตออเนกประสงค (Type3b)
P ชองเสยบการดเมโมรี่
Q ไฟแสดงการทางาน
R กานปลดแบตเตอรี่
S ฝาปดชองตอ
T ฝาปดชองใสแบตเตอรี่/การดเมโมรี่
U เครื่องหมาย (TransferJet)
V ชองใสแบตเตอรี่
W ชองตอขาตั้งกลอง
ใชขาตั้งที่สกรมีความยาวสั้นกวา
5.5 มม. มิฉะนั้นทานจะไมสามารถ
ติดกลองไดอยางมั่นคง และอาจจะ
เกดความเสยหายตอตวกลองได
สวนประกอบของกลอง

Table of Contents

Related product manuals