EasyManua.ls Logo

Sony DSC-TX5 - Page 47

Sony DSC-TX5
104 pages
Print Icon
To Next Page IconTo Next Page
To Next Page IconTo Next Page
To Previous Page IconTo Previous Page
To Previous Page IconTo Previous Page
Loading...
RU
RU
15
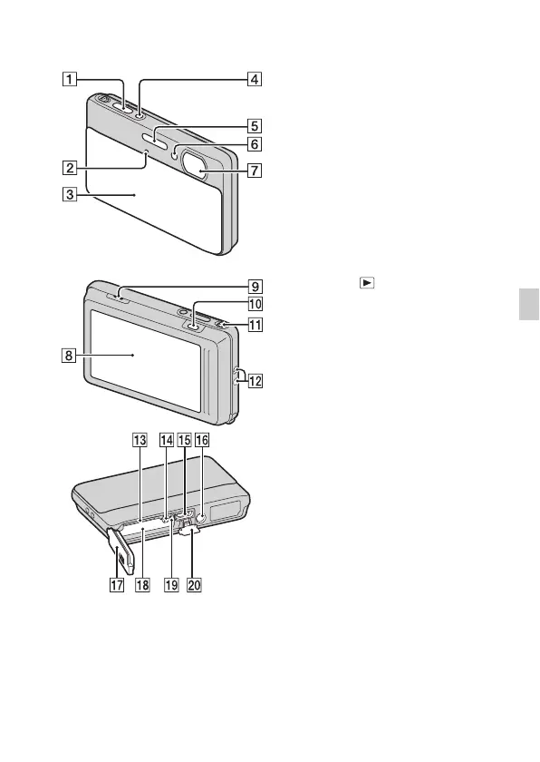
Обозначение частей
A Кнопка затвора
B Микрофон
C Крышка объектива
D Кнопка ON/OFF (Питание)
E Вспышка
F Лампочка таймера
самозапуска/Лампочка Smile
Shutter/Подсветка АФ
G Объектив
H Экран ЖКД/сенсорная
панель
I Громкоговоритель
J Кнопка
(воспроизведение)
K Рычажок увеличения (W/T)
L Крючок для наручного
ремешка
M Слот карты памяти
N Рычажок выталкивания
батареи
O Многофункциональный
разъем
P Гнездо штатива
Используйте штатив с
винтом длиной менее 5,5 мм.
В противном случае Вы не
сможете надежно закрепить
фотоаппарат, что может
привести к его
повреждению.
Q Крышка отсека батареи/
карты памяти
R Слот для вставления
батареи
S Лампочка доступа
T Крышка
многофункционального
разъема

Related product manuals