EasyManua.ls Logo

Sony TC-252 - Page 18

Sony TC-252
18 pages
Print Icon
To Previous Page IconTo Previous Page
To Previous Page IconTo Previous Page
Loading...
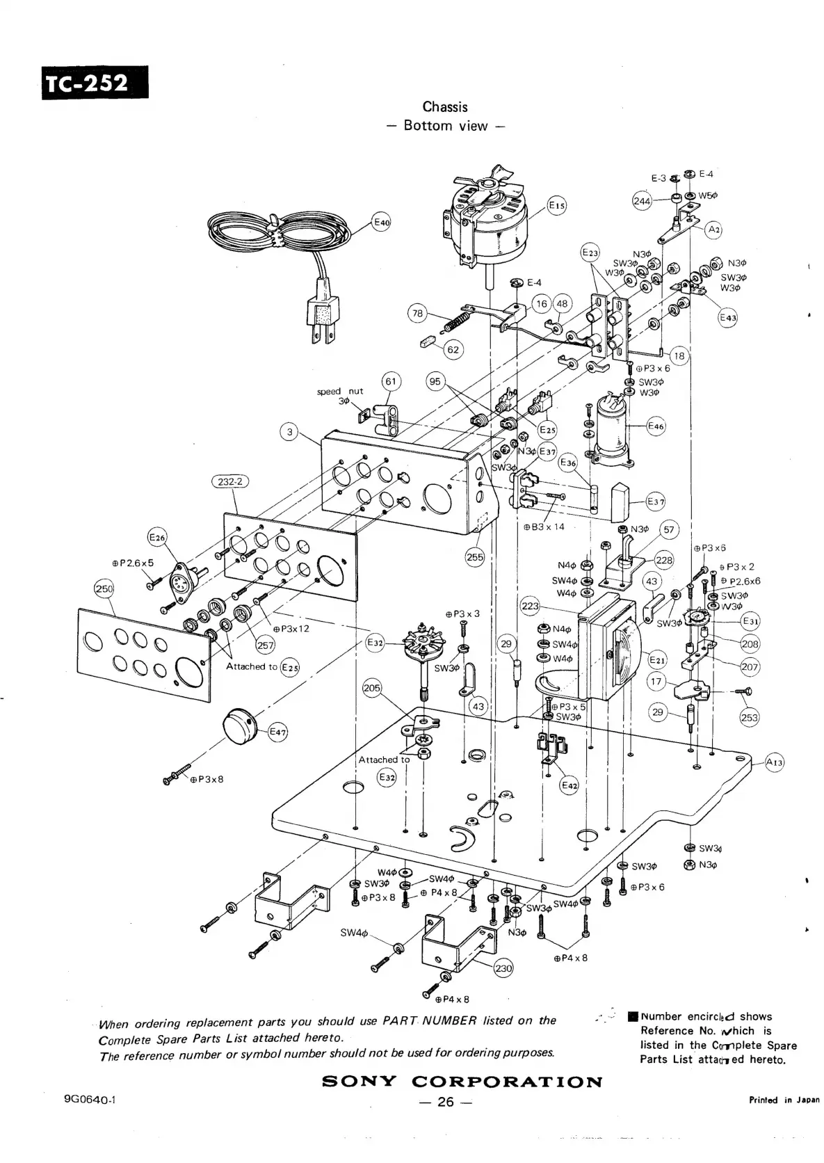
Chassis
Bottom
view
Q&
N3o
Re,
w3¢
Y
-
)
@P3x12
~y
|
LN
Q
QD
©
OS
Attached
t0
(E23)
8
we
4
Se
Br
ant
S
swe
S
Sw3¢
(=)
N3¢
W46
CS)
E
P4x8
wo
se
gal
:
=
i
aa
oe
6
———
swag
Al
J
"N30
i
$
=
Py
:
@P4x8
,
S.
y
@P4xB
MB
Number
encirchal
shows
Reference
No.
which
is
listed
in
the
Complete
Spare
Parts
List
attacged
hereto.
When
ordering
replacement
parts
you
should
use
PART.
NUMBER
listed
on
the
Complete
Spare
Parts
List
attached
hereto.
The
reference
number
or
symbol
number
should
not
be
used
for
ordering
purposes.
SONY
CORPORATION
9G0640-1
|
>)
Printed
in
Japan

Related product manuals