EasyManua.ls Logo

Steinbach Jet light - Page 26

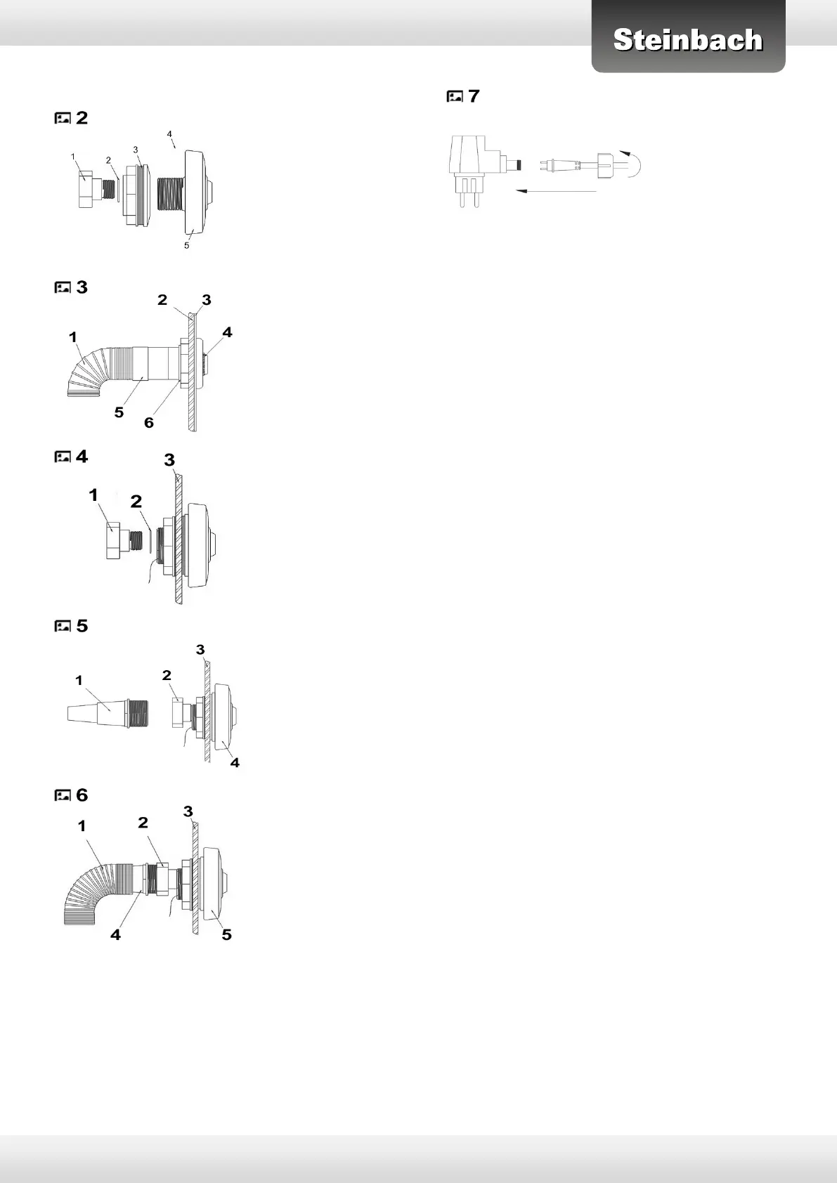
Steinbach Jet light
Print Icon
To Previous Page IconTo Previous Page
To Previous Page IconTo Previous Page
Loading...
Jet Light | 2014_V1

Related product manuals