EasyManua.ls Logo

Subaru IMPREZA 2001 - Page 43

Subaru IMPREZA 2001
189 pages
Print Icon
To Next Page IconTo Next Page
To Next Page IconTo Next Page
To Previous Page IconTo Previous Page
To Previous Page IconTo Previous Page
Loading...
ABS-42
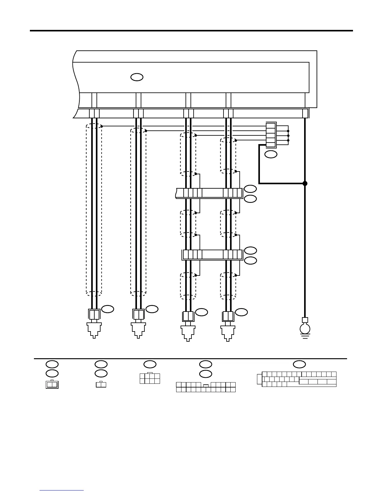
ABS (DIAGNOSTICS)
DIAGNOSTICS CHART WITH DIAGNOSIS CONNECTOR
WIRING DIAGRAM: RHD MODEL
BR0038
15
14
10
9
8
7
23
F74
B200
REAR
ABS
SENSOR RH
B99
R72
R3
E
3
2
1
2
1
12
13
11
21
20
10
22
9
8
REAR
ABS
SENSOR LH
R73
2
1
FRONT
ABS
SENSOR RH
F95
F95
2
1
FRONT
ABS
SENSOR LH
F94
F94 F62 F74
B99
R73
R72
2
1
1 22 1
12345 6789
10
11
12
19 20 21
13 14 15 16
17
18 22
F49
1 2 3 4 5 6 7 8 9
10 11 12 13 14 15
16 17 18 19 20 21 22
27 28 29 30 31
23 24 25 26
12
11
F49
ABS CONTROL MODULE AND HYDRAULIC CONTROL UNIT
13
567
2
4
8
F62
3
2
1
4
7
SHIELD JOINT
CONNECTOR

Related product manuals