EasyManua.ls Logo

Subaru IMPREZA 2001 - Page 49

Subaru IMPREZA 2001
189 pages
Print Icon
To Next Page IconTo Next Page
To Next Page IconTo Next Page
To Previous Page IconTo Previous Page
To Previous Page IconTo Previous Page
Loading...
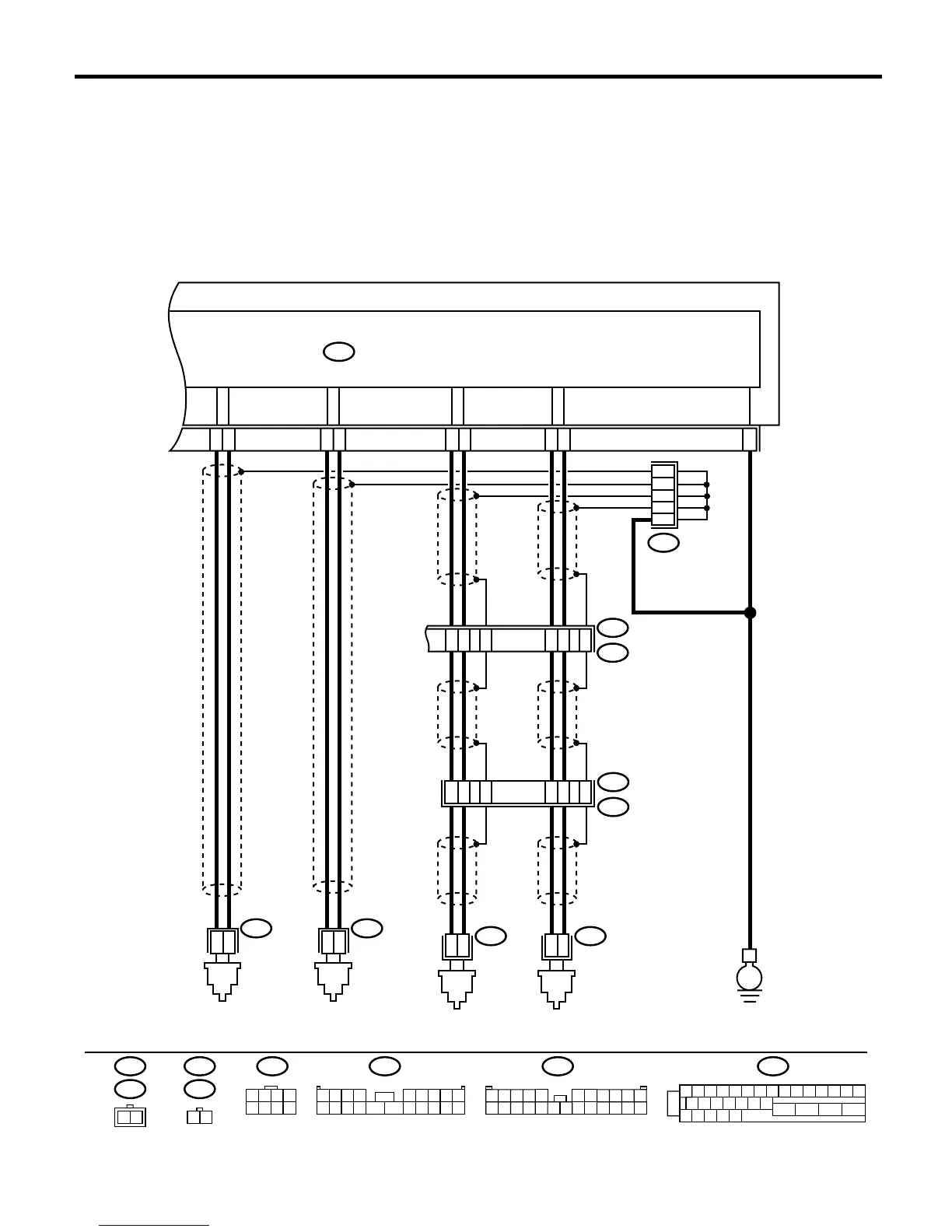
ABS-48
ABS (DIAGNOSTICS)
DIAGNOSTICS CHART WITH DIAGNOSIS CONNECTOR
K: TROUBLE CODE 28
ABNORMAL ABS SENSOR (REAR LH)
DIAGNOSIS:
Faulty ABS sensor signal (noise, irregular signal, etc.)
Faulty harness/connector
TROUBLE SYMPTOM:
ABS does not operate.
WIRING DIAGRAM: LHD MODEL
BR0037
15
14
10
9
8
7
23
F62
F74
B200
REAR
ABS
SENSOR RH
B99
R72
R3
E
3
2
1
4
3
4
2
1
12
13
2
11
10
16
23
5
9
4
REAR
ABS
SENSOR LH
R73
2
1
FRONT
ABS
SENSOR RH
F95
F95
2
1
FRONT
ABS
SENSOR LH
F94
F94 F62
B99
B200
R73
R72
2
1
1 22 1
13
567
2
F49
1 2 3 4 5 6 7 8 9
10 11 12 13 14 15
16 17 18 19 20 21 22
27 28 29 30 31
23 24 25 26
12
11
3
412
89
10 11
12 13 14 15 16 17 18 19 20 21 22 23 24
567
1234 56789
10 11 12 13 14 15 16 17 18 19 20
F49
ABS CONTROL MODULE AND HYDRAULIC CONTROL UNIT
6
4
8
SHIELD JOINT
CONNECTOR

Related product manuals