EasyManua.ls Logo

Sunbeam 89020 - Page 10

Sunbeam 89020
32 pages
Print Icon
To Next Page IconTo Next Page
To Next Page IconTo Next Page
To Previous Page IconTo Previous Page
To Previous Page IconTo Previous Page
Loading...
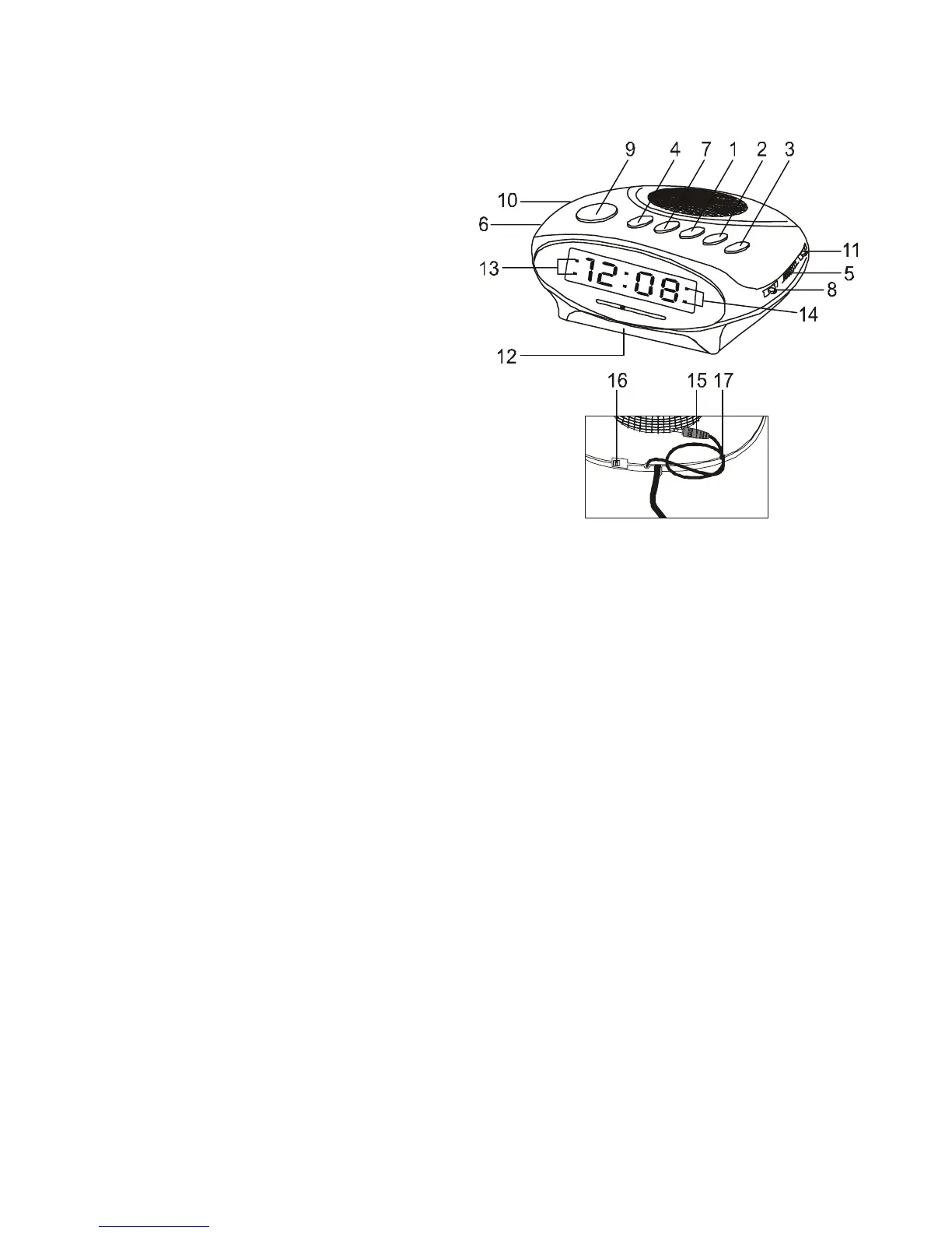
1. HOUR (heure)
2. MINUTE (minute)
3. ALARM (alarme)
4. SLEEP (dormir)
5. TUNING CONTROL
(Contrôle de syntonisation de la radio)
6. VOLUME / BUZZER CONTROL
(Contrôle du volume / buzzer)
7. TIME SET (heure)
8. AM/FM BAND SWITCH
(contrôle de bande de radio AM / FM)
9. SNOOZE
10. ALARM ON/OFF
(mise en marche / arrêt de l‘alarme)
11. NIGHT LIGHT ON/OFF
(mise en marche / arrêt de la lumière de nuit)
12. NIGHT LIGHT (lumière de nuit)
13. AM/PM signal (indique si l‘heure est AM/PM)
14. ALARM ON/OFF signal
(mise en marche / arrêt de la signal d‘Alarme)
15. Mp3 alimentation (câble et prise)
16. Radio Mp3 switch
17. Mp3 trombone pour assurer le câble.
INTRODUCTION
Sunbeam est un radio horloge numérique construit avec grande précision. Il a été
dessigné avec des circuits intégrés très solides et de la plus haute technologie.
Prenez quelques minutes de votre temps pour lire les instructions de cet appareil qui
va assurer, sans doute, votre complète satisfaction et pour longtemps.
Caractéristiques
Indicateur de failles de l’énergie.
Une caractéristique importante de votre radio horloge est la possibilité d’indiquer
l’affichage incorrect de temps en raison d’une coupure de l’énergie. Quand c’est le
cas tout l’affichage de l’horloge va clignoter pour annoncer que l’heure montrée est
incorrecte. Suivez les pas figurant à la rubrique « comment régler l’heure » pour
remettre l’horloge à l’heure correcte.
Batterie de soutien
Dans le cas d’une coupure d’énergie cet appareil va immédiatement mettre en
marche un circuit à batterie de soutien quand la batterie est en place. Avec cette
batterie l’horloge va garder le temps. L’alarme /radio ne va pas fonctionner mais les
autres fonctions vont rester à leur place original. L’écran de l’horloge ne va pas
s’allumer pour économiser l’énergie de la batterie. Si le système de soutien à
batterie ne fonctionne pas de manière correcte (peut être par une batterie en
mauvais état) changez-la pour une autre (nous vous conseillons d’utiliser seulement
des batteries alcalines type 9V). Si vous souffre d’un longue coupure d’énergie
vous pouvez avoir besoin de régler légèrement l’horloge quand l’énergie revienne
(l’horloge se sert d’une batterie interne pour les circuits qui est moins fiable que
l’énergie du secteur). Il vous suffit de suivre les instructions pour régler l’heure,

Related product manuals