EasyManua.ls Logo

Sunex Tools 8045BL - Page 10

Sunex Tools 8045BL
10 pages
Print Icon
To Previous Page IconTo Previous Page
To Previous Page IconTo Previous Page
Loading...
8045/8045BK/8045BL 10 Rev. 7/3/14
Tiroir
inférieur
M6x40
Boulon
Pattes en
chrome
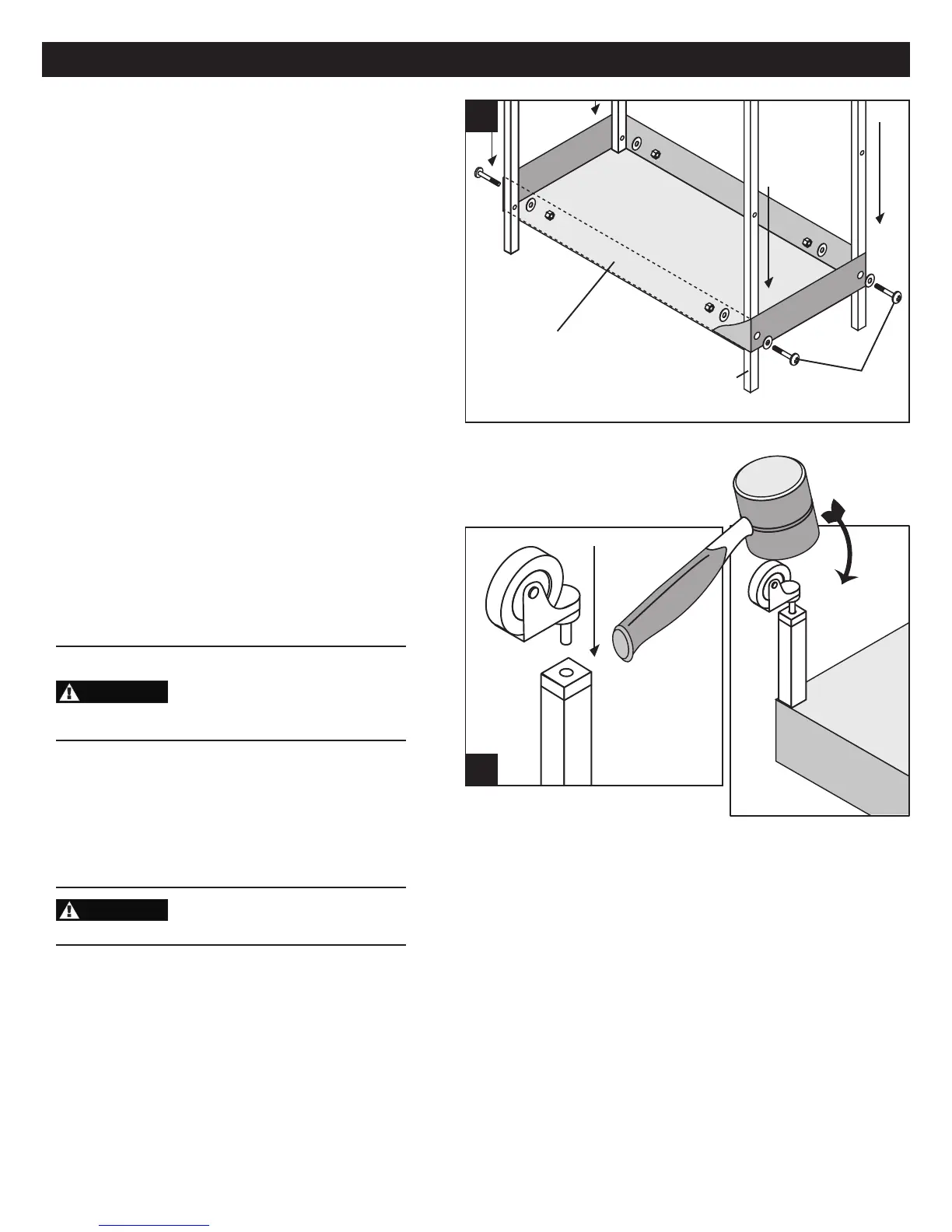
Étape 3 : Raccordez le tiroir inférieur aux
montants de chrome.
Soulevez le chariot et placez-le sur le tiroir inférieur
avec les montants de chrome à travers les trous
carrés pour montants. Alignez les trous de
boulons dans le tiroir inférieur avec les trous
inférieurs des montants et passez un boulon M6x40
dans la rondelle, les trous de boulons, et les jambes
tel qu’indiqué. Répétez avec tous les trous restants
dans le tiroir inférieur.
Étape 4: IMPORTANT: Resserrez tous
les boulons.
À ce moment, tous les boulons devraient être serrés.
Serrez les boulons vis-à-vis l’un de l’autre plutôt que
de serrer tous les boulons sur un côté d’abord, de
sorte que le chariot reste aligné. Évitez d’utiliser une
force excessive en serrant les boulons. Le serrage
excessif des boulons peut inciter des tiroirs à se
coincer et gêner leur opération.
Étape 5 : Fixation des roulettes.
Avec les clefs fournies, verrouillez tous les tiroirs,
le dessus, et le support de barre de levier pour les
empêcher de s’ouvrir. Tournez le chariot à l’envers, en
lui permettant de reposer sur des dessus des jambes
de chrome avec les insertions en plastique faisant
face vers le haut.
Ne permettez pas à l’établi latéral
de se balancer librement, car il se
peut qu’il soit endommagé ou qu’il
cause des blessures pendant que
le chariot est tourné à l’envers.
Insérez la tige d’une roulette dans le trou d’une
insertion en plastique. En utilisant un maillet en
caoutchouc, martelez la roulette jusqu’à ce que la
tige ne soit plus visible. Répétez avec les autres
roulettes.
Assurez-vous que les deux
roulettes de blocage sont sur
la même extrémité du chariot.
Une fois que les roulettes sont installées, mettre
le chariot à l’endroit. L’assemblage est complété.
INSTRUCTIONS DE MONTAGE
3.
5.
5.
REMARQUE
REMARQUE