EasyManua.ls Logo

Sunex Tools 8045BL - Page 7

Sunex Tools 8045BL
10 pages
Print Icon
To Next Page IconTo Next Page
To Next Page IconTo Next Page
To Previous Page IconTo Previous Page
To Previous Page IconTo Previous Page
Loading...
8045/8045BK/8045BL 7 Rev. 7/3/14
Charola
inferior
Perno
M6x40
Patas
cromo
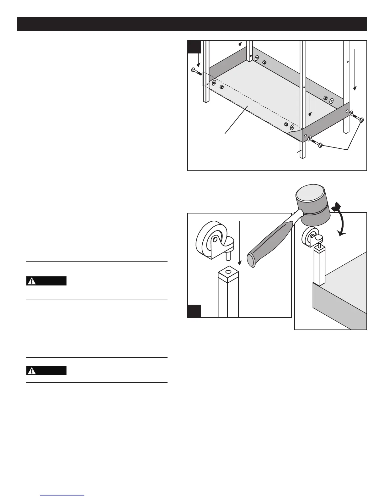
Paso 3: Conectando la charola inferior a
las patas de cromo.
Levante el carrito y colóquelo encima de la charola
inferior con las patas de cromo por los agujeros
cuadrados de pata. Alinee los agujeros de perno en
la charola inferior con los agujeros inferiores en las
patas e inserte un perno M6x40 por la arandela, los
agujeros de perno y las patas, según se ilustra. Repita
los pasos para todos los agujeros restantes de la
charola inferior.
Paso 4: IMPORTANTE: Apriete todos
los pernos.
Para este paso, todos los pernos deben estar
apretados. Apriete los pernos que quedan uno
enfrente al otro más que apretar todos los pernos
de un lado primero, para que el carrito así siga
alineado. Al momento de apretar los pernos, evite
ejercer fuerza excesiva El sobre apriete de los
pernos puede hacer que se aten los cajones y se
entorpezca su operación.
Paso 5: Sujetando las rodajas.
Con las llaves provistas, cierre todos los cajones,
la pieza superior y el sujetador de la barra de
apalancamiento para prevenir que se abran.
Voltee el carrito boca abajo, dejando que repose
sobre la parte superior de las patas de cromo con
las inserciones de plástico boca arriba.
No deje que el banco de trabajo
lateral oscile libremente, ya que
esto puede dañar o ocasionar
mientras el carrito esté volteado
boca abajo.
Inserte el árbol de alguna de las rodajas en un agujero
de una inserción de plástico. Usando un martillo de
plástico, martille las rodajas en su lugar hasta que
el árbol ya no esté visible. Repita los pasos con las
demás rodajas.
Asegúrese que ambas rodajas
de seguridad estén del mismo
extremo del carrito.
Una vez que estén instaladas las rodajas, coloque
el carrito en posición vertical. El ensamblado está
terminado.
INSTRUCCIONES DE ENSAMBLADO
3.
NOTA
NOTA
5.