EasyManua.ls Logo

Taurus PONENT 16 - Page 30

Taurus PONENT 16
Print Icon
To Next Page IconTo Next Page
To Next Page IconTo Next Page
To Previous Page IconTo Previous Page
To Previous Page IconTo Previous Page
Loading...
- !"# $ % ا ' () * ز , -. أ ر 1% 2 *,3ة '#5678 ا ' () * ز .
- -  ﺟ ﺿﻊ ﺟ ﻣﺳ ﻠﻰ ﺑﻧ .
-  ﻋ ﻠﻰ ﺟﺳ ﺟ .
- ﻛ ﺟ ﻋ ﻋ ﻟﻠﻟ( . ) ﻣﻊ ﺟ (
-  ﺟ ﻛ ﻣ ﺻﺣ ﺣﻛ ﺟ .
 ﺷﺑ ﺣ :
ﺿﻊ ﺟء ﻔﻲ ﻣ ﺷﺑ )E( ﻣﺎ ﺟﺳ ﺟ )G( ﻣ ﻣﻊ  .
ﺷ ﻏﻲ ﺑ ﺷﺑ )D( ﻛ ﻣ ﻛ ﺷﻛ .
ﺿﻊ ﺣ )C( ﻓﻲ ﺣ  )F( .
ﺷ ﻏﻲ  ﺣ )K( ﻛ ﻣ ﻛ ﺑ ﺷﻛ .
ﺿﻊ ﺳ ﻣﻲ ﻣ ﺷﺑ )( ﻣﺎ ﺷﺑ ﻟﺧﻠ ﻣ ﻣﻊ ﻏﻲ ﻷﻣ .  ﺷﺑ ﻣﻊ ﻣﺷ ﺷ ﺑﻏ ﻷﻣ ﻣﺳ ﻔ ﺑﻏ.
ﻛ ﻣ  ﺣ ﺷﻛ ﺻﺣ .
 ﻻﺳ
ﻼﺣ ﺑ ﻻﺳ :
-  ﻐﺷ ء ﻣﻲ ﺟ .
- ﻛ ﻣ ﺣ ﻛ ﻣ ﻟﻠ ﻣ ﺟ .
:
- ﻠ ﺑ ﺑ ﻌﻣ .
- ﺟ ﺻ ﺟ ﺑﺎﺎ  .
- ﺟ ﺻ ﺟ ﺑﺎﺎ  .
:
- ﺟ ﺿﻐ ﻠﻰ  ﺧ ﺳ .
9:* م ,$% ا <=# 8 ا ز :
- !>$ ? 9:* م ا ' # @ -A B # C1 7 D ا '#7*ر ا ' ) C ا EF ا 'G* رH IJ ا ' () * ز ' # KL7 M I NL@ M B8 او!M 7 5 د ر1M B"Q % I # C ا 'F و أ و R C I * R 7 QF .
- ' #"K 7 % =Sه ا ' U$ - 7 M ا VK W , -. ا'8ر . )M(
- XY Z * ء =S ا ا ' N:* م 2\ B * ' GL C ا ت ا ^ U * 6>M .
&' ( ا*ر , - .ع: )_ @W ' - $ C د ! `ت BU$Cد (
!$QJ Va W ا ر RZ ا ' () * ز B Zc ' Cd M ا eزر ا ر )M( وRfa7g ا ' () * ز , -. ا RZ *ع ا ^ L -
وi3 ' Cd M ا ر ا ر IJ 13 ! 3 .
ﺎء ﺳﺗ ﺟ :
- ﺎ ﺟ ﺑﺎ ﺎ ﺿ 0 ﺟ ﺣﻛ .
- ﺻ ﺟ ﻣ ﺎ  .
/ ﻘ:
- ﺣﺗ ﺟ ﻠﻰ ﺑ ﺟء ﻟﻌﻠ ﻋﻣ ﻠ )ﺻ H( .
- ﺻ ﺟ ﻣ ﺎ ﻛ  ﺑ  ﻋﻣ .
- ﺟ ﻏﺳ ﺟ ﺎ ﻋﻣ ﻣ ﻣﻊ ﻣ ﺳﺎ ﺟﻔ ﻌ ﻟ.
- ﻣﻧ ﺗﺧ   ﻣ  ﺎ ﻻ  ﺗﺞ ﺣﺗ ﻠﻰ ﺻ p h ﺿﻲ   ﺛ     ﺎ ﻛﺔ  ﺟ .
- ﺟ ﺎء   ﺧ ﻻ ﺿﻌ ﺣ ﺎء ﺻﻧ .
- ﺟ ﺎء   ﺧ ﻻ ﺿﻌ ﺣ ﺎء ﺻﻧ .
ﻋ ﻛ
- ﺣﺎ ﺣﻣ ﺟ ﻟﻰ ﻣﻛ ﺧ ﻣﺔ ﺔ.
ﺎ ﺗﺣ  /  ﻓﻲ ﺣﺎ ﻣ ﺑ ﺳ  ﻓﻲ  ﻷﺻ :
ﻣﻛ ﻋﺎ
-  ﻣ ﺗﻲ  ﻣﻧ   ﺟ ﻲ ﻣﺞ ﺳ ﺟﻣ ﺗﺗ ﻋﺎ ﺗﺻﻧ .
-   ﺗﺞ ﺎ ﻣﺎﻣﺎ ﻣ ﺛ ﻣ ﺗﻲ ﻛ  ﺿ ﻣﺣ .
- ﻣ ﺷ ﻟﻰ  ﻠ ﻣ ﺗﺞ ﻋ ﻛ ﻣ ﺎء ﻋﻣ , ﺟ ﺗﻣ ﻟ
ﻋ ﺗﺧ ﺳ ﻠﻰ  ء ﻌﺗﻣ ﻣ ﻣﻊ  ﺎ ﻟ  ﺟﻣ 
ﺎ ﻣ ﻷﺟ  ﻻﻟ .
, 0 &1 ا 2 3 4 0 ! ا67.68% ! 0 ا9- . ت ا 6 7 :; 8 < ا = > ? 0 6 0 @A ا 2B7 CD م FA ا 6 GH . ز :
ﺣ ﻣﻼ ﻣ ﺎ 2004/108/EC ﺣ ﺗﺗ ﻔ  2006/95/EC ﺟ ﻓ 
- !"# $ % ا ' () * ز , -. أ ر 1% 2 * ,3ة '#5678 ا ' () * ز .
- -  ﻷﺟ ﺿﻊ ﺟ ﻣﺳ ﻠﻰ ﺑﻧ .
-  ﻋ ﻠﻰ ﺟﺳ ﺟ .
- ﻛ ﺟ ﻋ ﻓﻲ ﻋ  ﻟﻠﻟ( . ) ﻰ ﻣﻊ ﺟ (
-  ﺟ ﻛ ﻣ ﺻﺣ ﺣﻛ ﻷﺟ .

ﺷﺑ ﺣ :
ﺿﻊ ﺟء ﻔﻲ ﻣ ﺷﺑﻛﺔ )E( ﻣﺎ ﺟﺳ ﺟ )G( ﻣ ﻣﻊ  .
ﺷ ﻏﻲ ﺑ ﺷﺑ ﻛﺔ )D( ﻛ ﻣ ﻛ ﺷﻛ ﺻﺣ .
ﺿﻊ ﺣ )C( ﻓﻲ ﺣ  )F( .
ﺷ ﻏﻲ ﺎ  ﺣ )K( ﻛ ﻣ ﻛ ﺑﺎ ﺷﻛ ﺻﺣ .
ﺿﻊ ﺳ ﻣﻲ ﻣ ﺷﺑ ﻛﺔ )( ﻣﺎ ﺷﺑﻛﺔ ﻟﺧﻠ ﻣ ﻣﻊ ﻏﻲ ﻷﻣ .  ﻟﺷﺑ ﻛﺔ ﻣﻊ ﻣﺷ ﺷ ﺑﻏ ﻷﻣ ﻣﺳ ﻔ ﺑﻏ.
ﻛ
ﻣ  ﺣ ﺷﻛ ﺻﺣ .
 ﻻﺳ
ﻼﺣ
ﺑ ﻻﺳ :
-  ﻐﺷ ء ﻣﻲ ﺟ .
- ﻛ ﻣ ﺣ ﻛ ﻣ ﻟﻠ ﻣ ﺟ .
ﻻﺳ
:
- ﻠ ﺑ ﺑ ﺳﺗ ﻌﻣ .
- ﺟ ﺻ ﺟ ﺑﺎﻟﺗﺎ  .
- ﺟ ﺻ ﺟ ﺑﺎﻟﺗﺎ  .
ﻧﺎ ﺣ :
- ﺷﻐ ﺟ ﺿﻐ ﻠﻰ  ﺧ ﺎ ﺳﻋ .
9:* م ,$% ا <=# 8 ا ز :
- !>$ ? 9:* م ا ' # @ -A B # C1 7 D ا '#7*ر ا ' ) C ا EF ا 'G* رH IJ ا ' () * ز ' # KL7 M INL@ M B8 او!M 7 5 د ر1M B"Q % I # C ا 'F و أ و R C I * R 7 QF .
-
' #"K 7 %
=S ه ا ' U$ - 7 M ا VK W , -. ا '8ر . )M(
- XY Z * ء =S ا ا ' N:* م 2\ B * ' GL C ا ت ا ^ U * 6>M .
&' ( ا , - .ع: )_ @W ' - $ C د ! BU$Cد (
!$QJ Va W ا ر RZ ا ' () * ز B Zc ' Cd M ا ر ا ر )M( وRfa7g ا ' () * ز , -. ا RZ *ع ا ^ L - وi3 ' Cd M ا ر ا ر IJ 13 ! 3 .
ﻋﻧ ﻻ ﺗﺎء ﻣ ﺳﺗ ﺟ :
- ﺎ ﺟ ﺑﺎ ﺗﺎ ﺿﻌ 0 ﻓﻲ ﺟ ﺣﻛ .
- ﺻ ﺟ ﻣ ﺎ  .
ﺑ/ ﺑ ﻘ:
- ﺣﺗ ﺟ ﻠﻰ ﺑ ﻓﻲ ﺟ ء ﻟﻌﻠ ﺳ ﻋﻣ ﻠ )ﺻ H( .
ﻧ
- ﺻ ﺟ ﻣ ﺎ ﻛ  ﺑ ﺷ ﻓﻲ  ﻋﻣ .
- ﺟ ﻏﺳ ﺟ ﻌ ﺎ ﻋﻣ ﻣ ﻣﻊ ﻘﺗ ﻣ  ﻟﺳﺎ ﺋ ﺟﻔ ﻌ ﻟ.
- ﻣﻧﻊ ﺳﺗﺧ   ﻣ  ﺎ ﻻ  ﺗﺞ ﺣﺗ ﻠﻰ ﺻ p h ﺿﻲ   ﺛ ﻣﺣ     ﺎ ﺣﺎ ﻛﺔ  ﺷ ﺳ ﺟ .
-  ﺟ ﻓﻲ ﻣﺎء   ﺳﺎ ﺋ ﺧ ﻻ ﺿﻌ ﺣ ﻣﺎء ﺻﻧ .
-  ﺟ ﻓﻲ ﻣﺎء   ﺳﺎ ﺋ ﺧ ﻻ ﺿﻌ ﺣ ﻣﺎء ﺻﻧ .
ﻋ
ﻛ ﺻﻼ
- ﻓﻲ ﺣﺎ   ﺣﻣ ﺟ ﻟﻰ ﻣﻛ ﺧ ﻣﺔ ﺔ.
ﺎ
ﺗﺣ ﻷ /  ﻓﻲ ﺣﺎ ﻣ ﺑ ﺳ ﻘ  ﻓﻲ  ﻷﺻ :
ﺑﺋ
ﻣﻛ ﻋﺎ ﺗﺻﻧ ﺗﺞ
-  ﻣ ﺗﻲ  ﻣﻧﺎ   ﺟ ﻲ ﻣﺞ ﻓﻲ ﺳ ﺟﻣ ﺗﺗ ﻋﺎ ﺗﺻﻧ .
-   ﺗﺞ ﺧﺎ ﺗﻣﺎﻣﺎ ﻣ ﺛ ﻣ ﺗﻲ ﻛ  ﺿ ﻣﺣ .
-
ﻣ
ﺷ ﻟﻰ  ﻠ ﻣ ﺗﺞ ﻋ ﻛ ﻣ ﺗﺎء ﻋﻣ , ﺟ ﺗﻣ ﻟ ﻋ  ﺳﺗﺧ ﺳ ﺎﺳﺑ ﻠﻰ  ﻼء ﻌﺗﻣ ﻣ ﻣﻊ  ﻣﺧ ﺎ ﻟ  ﺟﻣ ﻘﻰ 
ﻣﺧ ﺎ
ﻣ ﻷﺟ  ﻻﻟ ﺗ .
, 0 &1 ا 2 3 4 0 ! ا67.68% ! 0 ا9- . ت ا 6 7 :; 8 < ا = > ? 0 6 0 @A ا 2B7 CD م FA ا 6 GH . ز :
ﺣ ﻣﻼ ﻣ  2004/108/EC ﺣ ﺗﺗ ﻔ  2006/95/EC ﺟ 
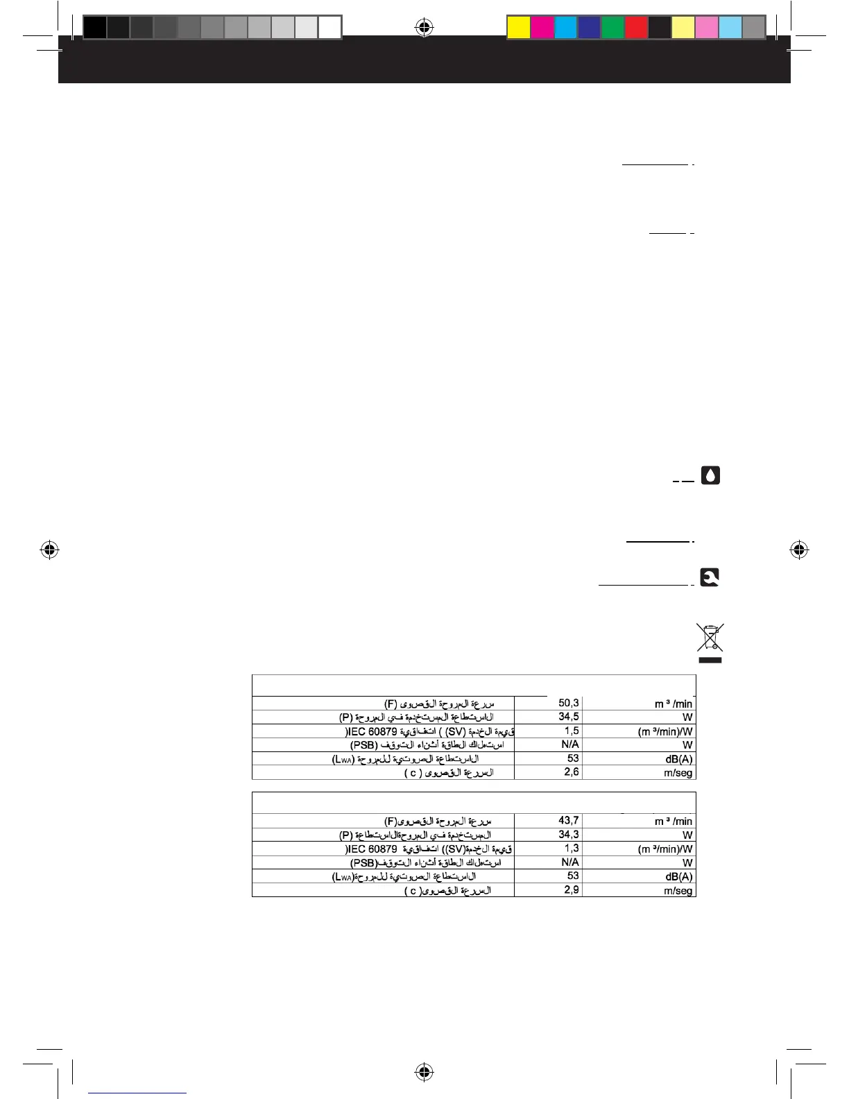
Ponent 16 (Ver VII)
Ponent 16C (Ver VII)
Manual Ponents 16 Alpatec.indb 30 5/11/15 9:07

Related product manuals