EasyManua.ls Logo

TGM MWVIT18S - Special Modes and Functions

Default Icon
61 pages
Print Icon
To Next Page IconTo Next Page
To Next Page IconTo Next Page
To Previous Page IconTo Previous Page
To Previous Page IconTo Previous Page
Loading...
35
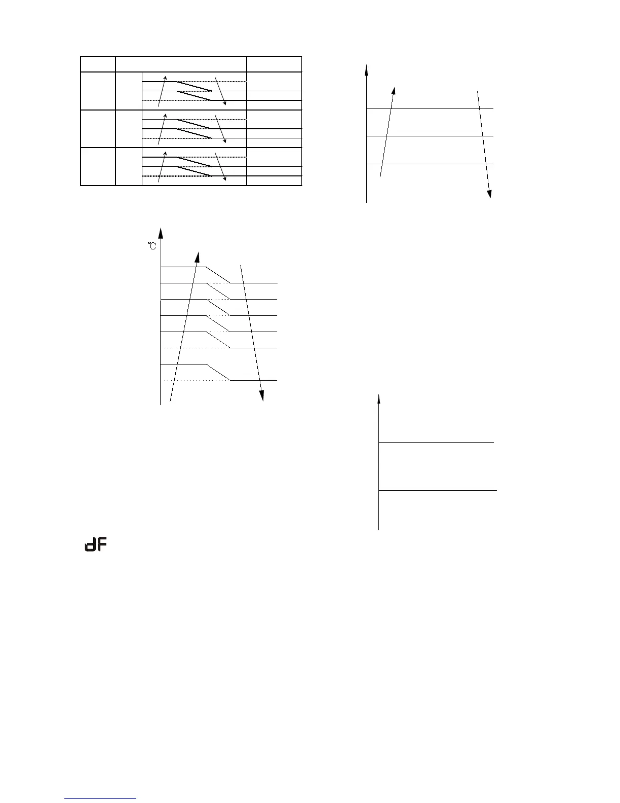
Setting fan
speed
Actual fan speed
H
=H
H+(H+=H+G)
M(M=M)
M+(M+=M+Z)
L(L=L)
L+(L+=L+D)
H-
H-=H-G)
M-(M-=M-Z)
L-(L-=L-D)
T1-Td
L
H
M
Auto fan action in heating mode:
T1-Td+¦ ¤T
8.4.3.4Defrosting mode
AC will enter the defrosting mode according to
the value of temp. of T3 and the value range of
temp. change of T3 and also the compressor
running time.
During the defrosting mode, the compressor
keep running, indoor and outdoor motor will stop,
defrost lamp of the indoor unit will be lighted
.” Will be displayed.
If any one of the following items is satisfied, the
defrosting will finish and the machine will turn to
normal heating mode.
----T3 rises to be higher than TCDE1.
----T3 keeps to be higher than TCDE2 for 80
seconds.
----The machine has run for 15 minutes in
defrosting mode.
8.4.3.5 Evaporator coil temperature
protection
Resume
Off
Decrease
Hold
When evaporator temperature temp. is more
than the setting protection value, the
compressor will stop.
8.4.4 Auto-mode
This mode can be chosen with remote
controller and the setting temperature can be
changed between 17°C~30°C
In auto mode, the machine will choose cooling,
heating or fan-only mode according to ΔT (ΔT
=T1-Ts).
T1-Ts
Cooling
Heating*
Fan only
Heating*: For cooling only models, they will run
at fan speed
Indoor fan will run at auto fan of the relevant
mode.
The louver operates same as in relevant mode.
If the machine switches mode between heating
and cooling, the compressor will keep stopping
for certain time and then choose mode
according to T1-Ts.
If the setting temperature is modified, the
machine will choose running function again.

Related product manuals