EasyManua.ls Logo

THOMSON ROC1128SON - Page 10

THOMSON ROC1128SON
78 pages
Print Icon
To Next Page IconTo Next Page
To Next Page IconTo Next Page
To Previous Page IconTo Previous Page
To Previous Page IconTo Previous Page
Loading...
8
F
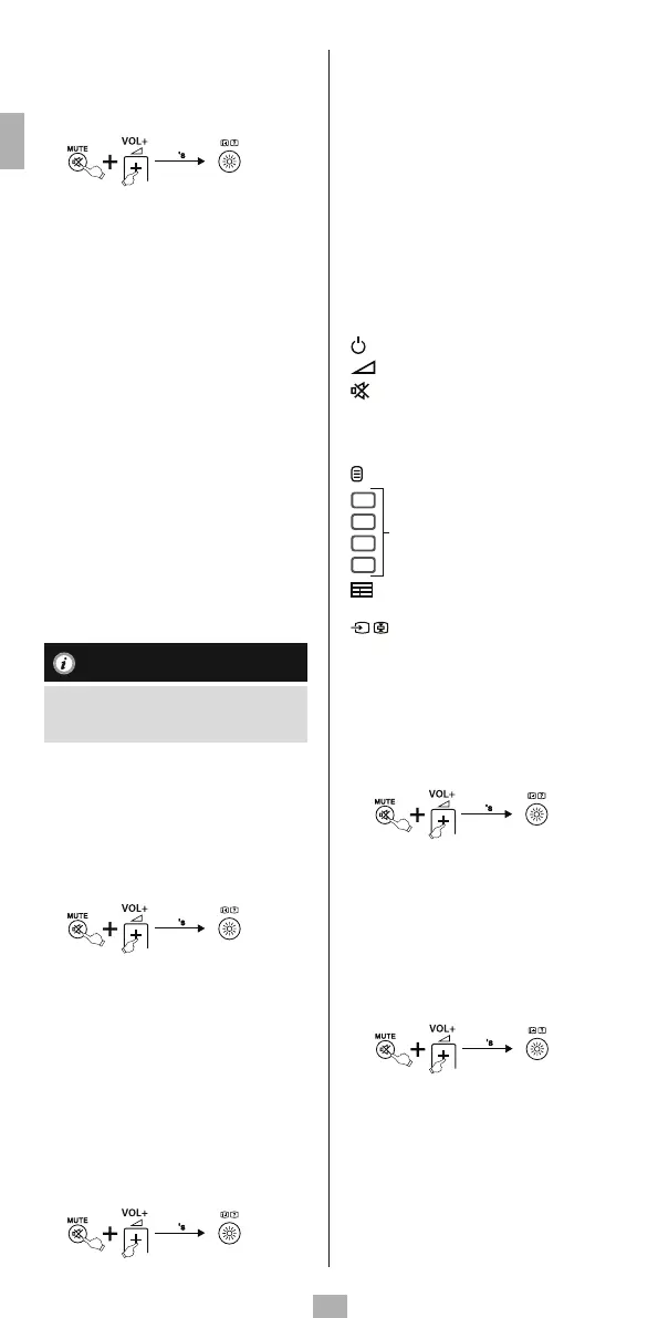
6.2 Activation du mode d’apprentissage
1. Appuyez simultanément sur les touches
[
MUTE
] et [
VOL
+] pendant env. 5 secondes
jusqu’à ce que la LED d’état s’allume en
continu.
5
2. Saisissez le code [9] [8] [0] ; la LED d’état
clignote deux fois, puis s’allume en
continu.
3. La télécommande universelle est alors en
mode d’apprentissage.
6.3 Transfert de la fonction d’une touche
1. Appuyez sur la touche de la télécommande
d’origine dont vous souhaitez transférer la
fonction. La LED d’état de la télécomman-
de de remplacement clignote pour conr-
mer la bonne réception de la commande.
2. Appuyez sur la touche de la télécommande
de remplacement sur laquelle vous souhai-
tez transférer la fonction.
3. La LED de fonctionnement de la télécom-
mande de remplacement clignote 3 fois
pour conrmer le transfert, puis reste
allumée en continu. La nouvelle fonction
est désormais sauvegardée.
4. Répétez ces étapes pour transférer les
fonctions d’autres touches.
5. Appuyez sur les touches [MUTE] et
[VOL-] pour sauvegarder toutes les
fonctions programmées et quitter le mode
d’apprentissage.
Remarque
Les fonctions des touches reprogrammées
seront conservées lorsque vous remplacez
les piles de la télécommande universelle
6.4 Suppression des fonctions
programmées
6.4.1 Suppression d’une fonction
programmée
1. Appuyez simultanément sur les touches
[MUTE] et [VOL+] pendant env. 5 secondes
jusqu’à ce que la LED d’état s’allume en
continu.
5
2. Saisissez le code [9] [8] [1] ; la LED d’état
clignote deux fois, puis reste allumée en
continu.
3. Appuyez sur la touche dont vous souhaitez
supprimer la fonction. La LED d’état
clignote 3 fois ; la fonction souhaitée est
supprimée.
6.4.2 Suppression de toutes les fonctions
programmées
1. Appuyez simultanément sur les touches
[MUTE] et [VOL+] pendant env. 5 secondes
jusqu’à ce que la LED d’état s’allume en
continu.
5
2
. Saisissez le code [9] [8] [2]. La LED d’état
clignote deux fois, puis s’allume en
continu.
3. Appuyez sur la touche [OK] ; la LED d’état
clignote 3 fois ; toutes les fonctions
programmées sont supprimées.
7. SIMPLE Mode
Cette lécommande est équipée de la fonction
SIMPLE Mode. Elle vous permet de limiter les
fonctions de cette télécommande aux fonctions
essentielles, ce qui vous garantit d’éviter toute mo
-
dication involontaire des paramètres du léviseur.
Les touches suivantes sont disponible en
SIMPLE Mode :
Alimentation TV ON / OFF
Volume +/-
Mise en sourdine TV
PROG Programme +/-
0-9 Touches numériques 0-9 pour la
sélection du programme
Télétexte ON/OFF
Sélection options à l’écran
Achage de l’aperçu des programmes
GUIDE (si pris en charge par le téléviseur)
Sélection du mode TV/AV
EXIT Fermer le menu
TV TV
7.1 Activation de SIMPLE Mode
1. Appuyez simultanément sur les touches
[MUTE] et [VOL+] pendant env. 5 secondes
jusqu’à ce que la LED d’état s’allume en
continu.
5
2. Saisissez le code [9] [7] [0] ; la LED d’état cli-
gnote deux fois, puis reste allumée en continu.
3. Appuyez sur la touche [OK]. La LED d’état
clignote 3 fois ; SIMPLE Mode est activé.
7.2 Désactivation de SIMPLE Mode
1. Appuyez simultanément sur les touches
[MUTE] et [VOL+] pendant
env. 5 secondes jusqu’à ce que la LED
d’état s’allume en continu.
5
2. Saisissez le code [9] [7] [0] ; la LED d’état cli-
gnote deux fois, puis reste allumée en continu.
3. Appuyez sur la touche [EXIT]. La LED d’état
clignote 3 fois ; SIMPLE Mode est désactivé.
TEXT

Related product manuals