EasyManua.ls Logo

THOMSON ROC1128SON - Page 34

THOMSON ROC1128SON
78 pages
Print Icon
To Next Page IconTo Next Page
To Next Page IconTo Next Page
To Previous Page IconTo Previous Page
To Previous Page IconTo Previous Page
Loading...
32
NL
5
2. Voer nu de code [9] [8] [0] in, de
status-LED knippert tweemaal en brandt
vervolgens constant.
3. De universele afstandsbediening bevindt
zich nu in de leermodus (teaching).
6.3 Overbrengen van de toetsfunctie
1. Druk op de originele afstandsbediening op
de betreffende toets waarvan u de functie
wenst over te brengen. Ter bevestiging dat
het commando werd ontvangen, knippert
de status-LED van de vervangende
afstandsbediening.
2. Druk nu op de vervangende afstandsbedi-
ening op de toets, waarop de functie dient
te worden overgebracht.
3. De status-LED van de vervangende
afstandsbediening knippert driemaal
ter bevestiging en brandt vervolgens
weer constant. De nieuwe functie is nu
opgeslagen.
4. Teneinde de functies van andere toetsen
over te brengen, herhaalt u de hierboven
vermelde stappen.
5. Druk op de toets [MUTE] en [VOL-] ten-
einde alle aangeleerde functies op te slaan
en de leermodus te verlaten.
Aanwijzing
Bij het vervangen van de batterijen in
de universele afstandsbediening blijven
de functies van de aangeleerde toetsen
behouden.
6.4 Wissen van aangeleerde functies
6.4.1 Wissen van een aangeleerde functie
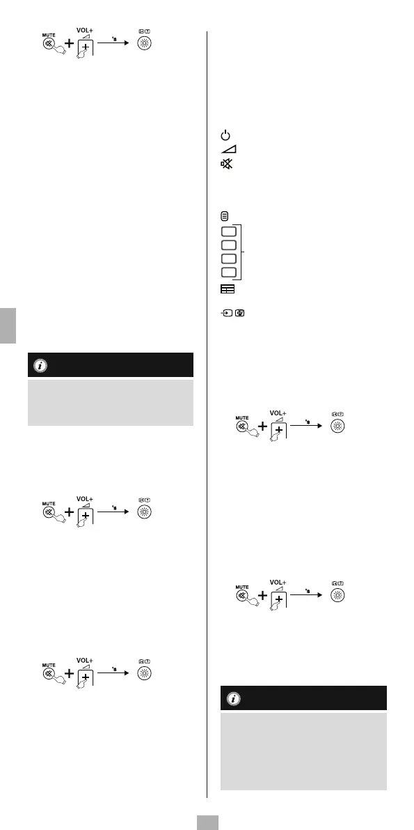
1. Druk tegelijkertijd gedurende ca. 5 sec.
op de toetsen [MUTE] en [VOL+] totdat de
status-LED constant brandt.
5
2. Voer nu de code [9] [8] [1] in, de
status-LED knippert tweemaal en brandt
vervolgens weer constant.
3. Druk op de toets, waarvan u de functie
wilt wissen. De status-LED knippert drie-
maal en de gewenste functie is gewist.
6.4.2 Wissen van alle aangeleerde functies
1. Druk tegelijkertijd gedurende ca. 5 sec.
op de toetsen [MUTE] en [VOL+] totdat de
status-LED constant brandt.
5
2.
Voer nu de code [9] [8] [2] in, de
status-LED knippert tweemaal en brandt
vervolgens weer constant.
3.
Druk op de toets [OK], de status-LED knip-
pert driemaal en alle aangeleerde functies
zijn nu gewist.
7. SIMPLE Mode
Deze afstandsbediening is met de functie
SIMPLE Mode uitgerust. Daardoor kunt u de
omvang van alle functies van de afstandsbe-
diening tot de wezenlijke functies beperken.
Het onbedoeld wijzigen van de tv-instellingen
wordt daardoor voorkomen.
In de SIMPLE Mode zijn voor u de volgende
toetsen ter beschikking:
Power TV IN / UIT
Volume +/-
Mute-functie TV
PROG Programma +/-
0-9 Cijfertoetsen 0-9 voor de programma-
keuze
Teletekst IN/UIT
Selectie on-screen opties
Programmaoverzicht tonen (indien dit
GUIDE door de televisie wordt ondersteund)
Selectie TV/AV modus
EXIT Menu sluiten
TV TV
7.1 SIMPLE Mode activeren
1. Druk tegelijkertijd gedurende ca. 5 sec.
op de toetsen [MUTE] en [VOL+] totdat de
status-LED constant brandt.
5
2. Voer nu de code [9] [7] [0] in, de
status-LED knippert tweemaal en brandt
vervolgens weer constant.
3. Druk op de toets [OK], de status-LED
knippert driemaal en de SIMPLE Mode is
geactiveerd.
7.2 SIMPLE Mode deactiveren
1. Druk tegelijkertijd gedurende ca. 5 sec.
op de toetsen [MUTE] en [VOL+] totdat de
status-LED constant brandt.
5
2. Voer nu de code [9] [7] [0] in, de
status-LED knippert tweemaal en brandt
vervolgens weer constant.
3. Druk op de toets [EXIT], de status-LED
knippert driemaal en de SIMPLE Mode is
nu gedeactiveerd.
Aanwijzing
Indien de afstandsbediening zich in de
SIMPLE Mode bevindt, functioneren alleen
de in punt 7 vermelde toetsen. Indien één
van deze toetsen wordt bediend, brandt de
status-LED totdat de toets wordt losgelaten.
In de normale modus knippert de status-
LED zodra er een toets wordt bediend.
TEXT

Related product manuals