EasyManua.ls Logo

Thor Kitchen MK09SS304 - Page 15

Thor Kitchen MK09SS304
27 pages
Print Icon
To Next Page IconTo Next Page
To Next Page IconTo Next Page
To Previous Page IconTo Previous Page
To Previous Page IconTo Previous Page
Loading...
service@thorgroup.us +1 877-288-8099
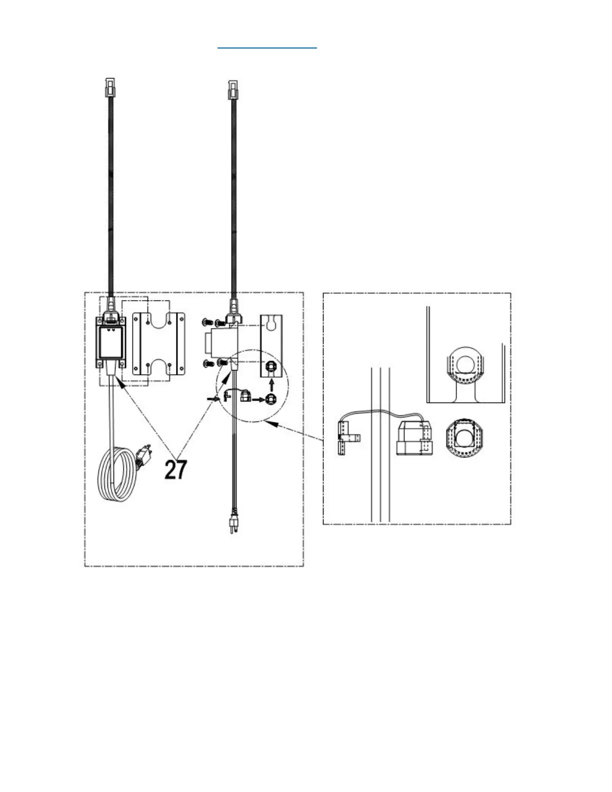
Layout of transformer installation