EasyManua.ls Logo

Thrustmaster TCA Captain Pack X Airbus Edition - Page 99

Thrustmaster TCA Captain Pack X Airbus Edition
730 pages
Print Icon
To Next Page IconTo Next Page
To Next Page IconTo Next Page
To Previous Page IconTo Previous Page
To Previous Page IconTo Previous Page
Loading...
28/35
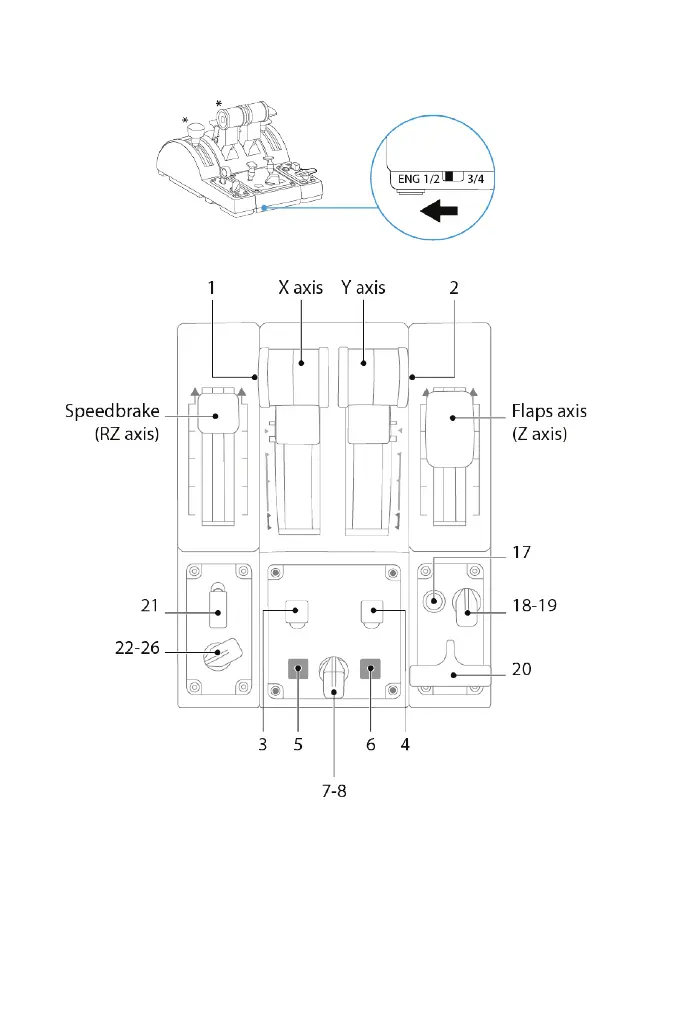
PC-MAPPING
*separat erhältlich

Related product manuals