EasyManua.ls Logo

Time Module VD54B - Page 28

Default Icon
46 pages
Print Icon
To Next Page IconTo Next Page
To Next Page IconTo Next Page
To Previous Page IconTo Previous Page
To Previous Page IconTo Previous Page
Loading...
中文简体
如任何秒表指针并非于"0"位置,请循以下步骤重设指针位置:
1) 拔出表冠至:
VD50, VD51, VD52, VD53, VD57 (带历型号):位置二
VD54, VD55, VD56, VD59 (不带历型号):位置一
2) 按着按钮(A)(B)以重设所有秒表指针至"0"位置。
* 秒表分针随着秒表秒针运行。
* 如按着相应的按钮不放,指针会快速运行。
3) 把表冠推回原位。
* 设定时间之前,确定秒表功能已停止。
VD50, VD51, VD52, VD53, VD57 (带历型号):
1) 拔出表冠至位置一。
2) 旋转表冠直至日历显示前一天之日期。
3) 秒针于12时位置时,拔出表冠至位置二,秒针立刻停止,
 然后旋转表冠以调校时针和分针至目标时间(检查是否正
 确设定上/下午时间)。
* 当表冠于位置二的时候,请勿按任何按钮,否则秒表指针会移动。
4) 依照报时信号,把表冠推回原位。
* 请勿在9:00PM1:00AM 设定日期,否则可能无法正确更改日期。如需在该段时间设定日期,请先把时间更
 改为上述时段以外的时间,再设定日期,最后重设正确时间。
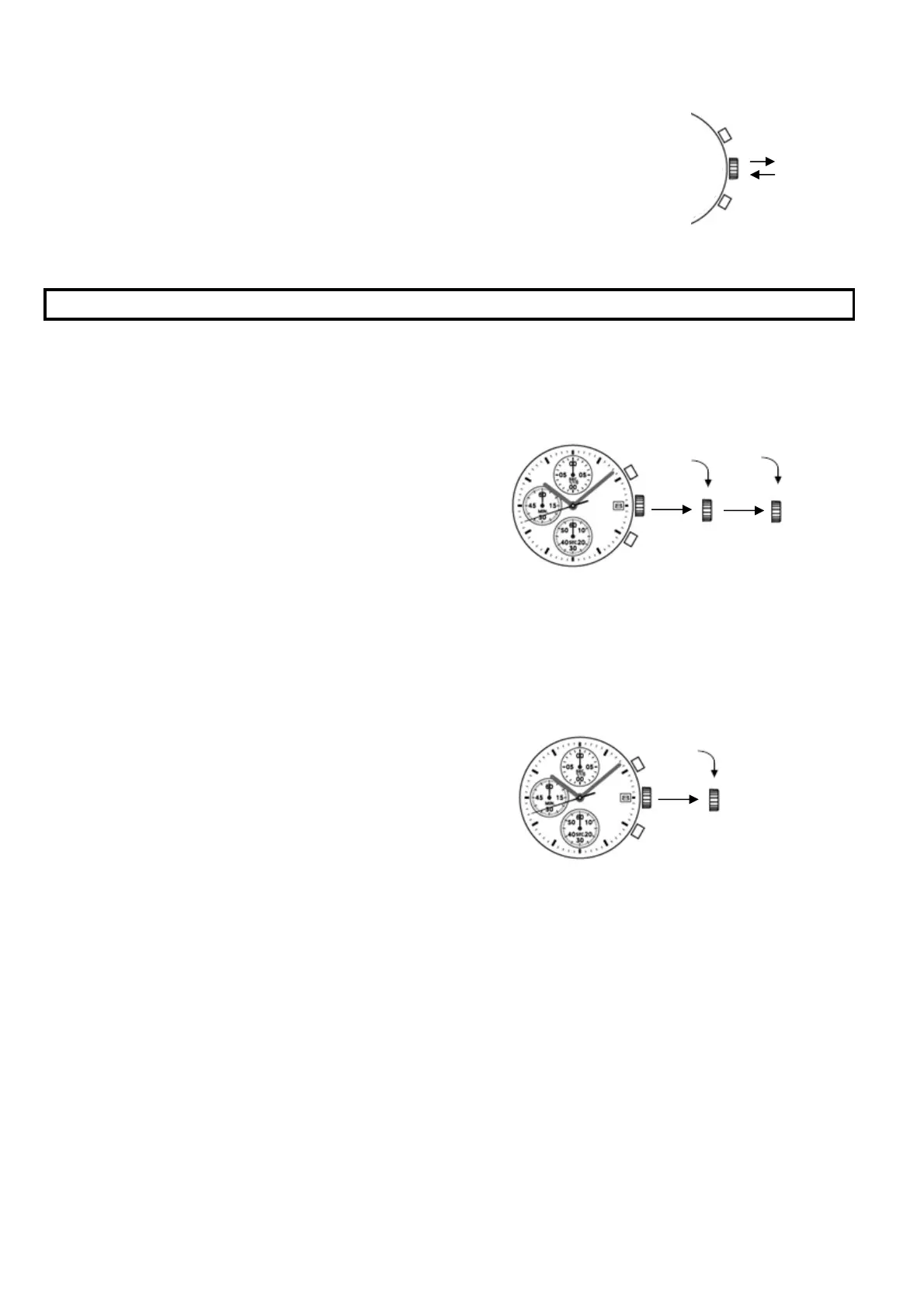
VD54, 55, 56, 59 (不带历型号):
1) 秒针于12时位置时,拔出表冠,秒针立刻停止。
2) 旋转表冠以调校时针和分针至目标时间。
VD54VD56VD59:检查是否正确设定上/下午时间。
* 请勿按任何按钮,否则秒表指针会移动。
3) 依照报时信号,把表冠推回原位。
时间设定
按钮
A
按钮
B
设定日历
设定时间
设定时间

Related product manuals