EasyManua.ls Logo

Time Module VD54B - Page 40

Default Icon
46 pages
Print Icon
To Next Page IconTo Next Page
To Next Page IconTo Next Page
To Previous Page IconTo Previous Page
To Previous Page IconTo Previous Page
Loading...
Italian
Se le lancette del cronografo non sono in posizione "0", resettarle seguedo la procedura seguente:
1) Estrarre la ghiera:
VD50, VD51, VD52, VD53, VD57 (calibri con finestra data) : secondo click
VD54, VD55, VD56, VD59 (calibri senza finestra data) : primo click
2) Premere il tasto A o B per resettare tutte le lancette del cronografo in posizione "0".
* La lancetta dei minuti del cronografo si sposta di conseguenza con la lancetta
dei secondi.
* La lancetta si sposta velocemente se sono premuti i rispettivi tasti.
3) Riporre la ghiera in posizione normale.
* Prima di impostare l'ora, controllare che la misurazione del cronografo sia ferma.
VD50, VD51, VD52, VD53, VD57 (calibri con finestra data) : calibri con finestra data):
1) Estrarre la ghiera al primo clic.
2) Girare la ghiera in senso orario fin quando appare ala data di
anteprima del giorno.
3) Estrarre la ghiera al secondo clic quando la lancetta secondi è
in posizione 12 in punto. Si ferma sul punto. Impostare
le lancette all'ora desiderata (accertarsi che AM/PM sia impostato
correttamente) girando la ghiera.
* Quando la ghiera è in posizione secondo clic, non premere tasti. Altrimenti le lancette
si spostano.
4) Riporre la ghiera in posizione normale secondo un segnale di tempo.
* Non impostare la data tra le 9:00 P.M. e l' 1:00 A.M. altrimenti il giorno potrebbe non cambiare. Se è
necessario impostare la data durante il periodo di tempo, prima cambiare l'ora a qualsiasi ora all'esterno ,
impostare la data e poi resettare l'ora corretta.
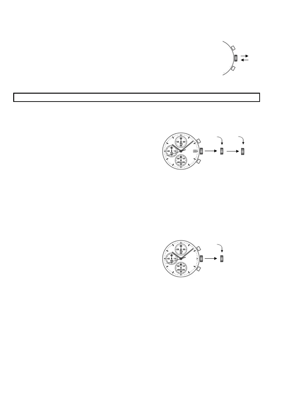
VD54, 55, 56, 59 (calibri senza finestra data) :
1) Estrarre la ghiera quando la lancetta secondi è alle 12 in punto.
La seconda lancetta si interrompe sul punto.
2) Impostare le lancette al momento desiderato del giorno
girando la ghiera.
VD54, VD56, VD59 : accertarsi che AM/PM sia impostato
correttamente
* Non premere i tasti altrimenti le lancette del cronografo si spostano.
3) Riporre la ghiera in posizione normale secondo un segnale di tempo.
Impostazioni orario
Tasto A
Tasto B
Impostare il
giorno
impostare
l'ora
impostare
l'ora

Related product manuals