EasyManua.ls Logo

Titanium Strength FSR400 - Page 7

Titanium Strength FSR400
14 pages
Print Icon
To Next Page IconTo Next Page
To Next Page IconTo Next Page
To Previous Page IconTo Previous Page
To Previous Page IconTo Previous Page
Loading...
Page 6
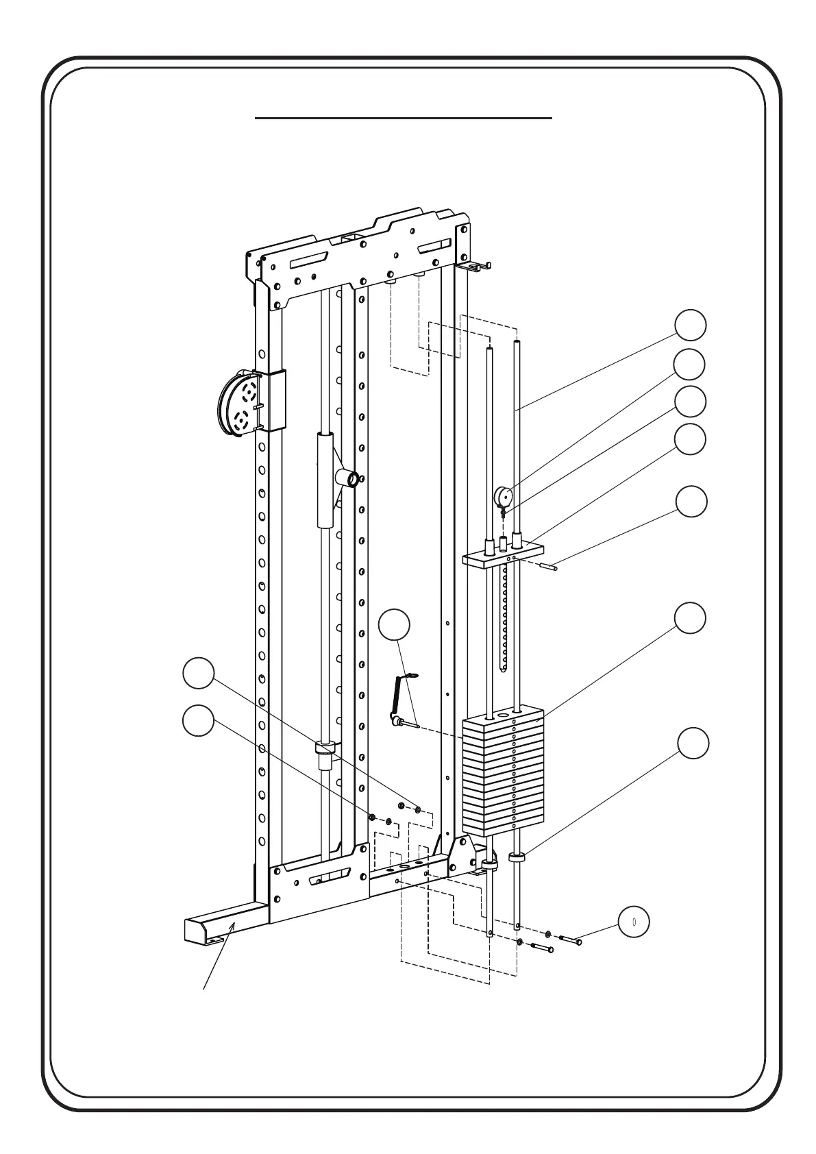
Assembly Instructions
STEP 4
Left Part
Note:Assemble the Right Part In the Same Way.
32
x4
33
x2
x2
x2
x2
34
x2
35
x30
36
x4
W10
8x
N10
4x
37
H10-13
x4
N12
40