EasyManua.ls Logo

Topcom BPM ARM 6331 - Page 18

Topcom BPM ARM 6331
88 pages
Print Icon
To Next Page IconTo Next Page
To Next Page IconTo Next Page
To Previous Page IconTo Previous Page
To Previous Page IconTo Previous Page
Loading...
18
TOPCOM BPM Arm 6331
11 Memoria
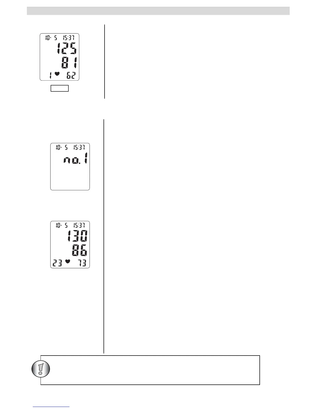
4. Una volta completata la
misurazione, la pressione sistolica,
diastolica e le pulsazioni vengono
visualizzate simultaneamente sullo
schermo LCD.
Se durante la misurazione è stato rilevato un errore,
sul display viene visualizzata la scritta Errore
Il BPM 6331 dispone di 3 Zone di memoria. In ciascuna
zona è possibile memorizzare fino a 30 misurazioni,
inclusive di data e ora
Al termine della lettura il risultato viene automaticamente
memorizzato nella Zona di memoria selezionata.
Prima di eseguire la misurazione selezionare la Zona di
memoria desiderata premendo ripetutamente il tasto
IMPOSTAZIONE.
Per richiamare i risultati delle misurazioni:
Per selezionale la zona di memoria desiderata,
premere ripetutamente il tasto IMPOSTAZIONE.
Per visualizzare il risultato dell’ultima misurazione,
premere il tasto MEMORIA.
Per visualizzare i valori memorizzati in precedenza,
premere ripetutamente il tasto MEMORIA.
Per interrompere la lettura dei dati, premere il tasto
AVVIO/STOP per tornare all’ora normale.
Per cancellare tutti i dati da una zona di memoria:
Per selezionale la zona di memoria desiderata,
premere ripetutamente il tasto IMPOSTAZIONE.
Per visualizzare il risultato dell’ultima misurazione,
premere il tasto MEMORIA.
Premere simultaneamente il tasto MODALITÀ e
IMPOSTAZIONE per cancellare tutti i dati dalla zona di
memoria selezionata.
mmHg
ERROR
mmHg
Quando le batterie sono inserite, i dati presenti nelle
memorie non vengono cancellati neppure se l’apparecchio
per la misurazione della pressione sanguigna è disattivato.

Related product manuals