EasyManua.ls Logo

Topcom WRIST 3301 - Page 27

Topcom WRIST 3301
76 pages
Print Icon
To Next Page IconTo Next Page
To Next Page IconTo Next Page
To Previous Page IconTo Previous Page
To Previous Page IconTo Previous Page
Loading...
27
FRANÇAIS
TOPCOM BPM Arm 3301
11 Mémoire
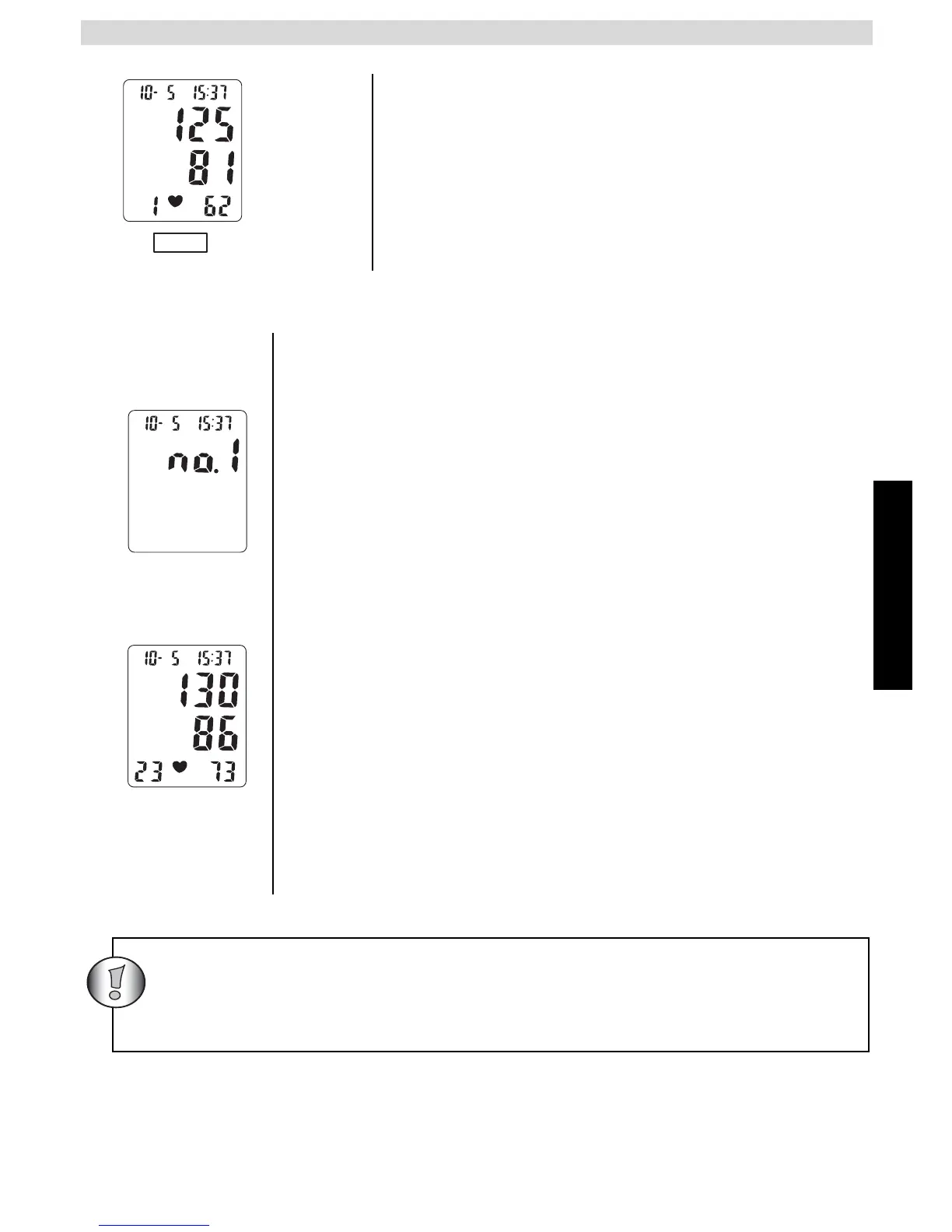
4. Lorsque la mesure est achevée, les
tensions systolique et diastolique et le
rythme cardiaque seront affichés
simultanément à l’écran LCD.
Lorsqu’une erreur est détectée pendant une
prise de tension, le message Error apparaît
à l’écran.
Le BPM 3301 dispose de 3 zones de mémoire. Chacune peut
enregistrer jusque 30 mesures y compris la date et l’heure
Le résultat sera enregistré automatiquement dans la Zone de
mémoire sélectionnée après la mesure.
Sélectionnez la Zone de Mémoire désirée avant chaque mesure
en pressant plusieurs fois la touche SET.
Pour consulter les résultats des mesures :
Pressez plusieurs fois la touche SET afin de sélectionner
la zone de mémoire désirée.
Pressez la touche MEMORY afin de visualiser le dernier
résultat.
Pressez plusieurs fois la touche MEMORY afin de
visualiser les valeurs sauvegardées précédemment.
Pour arrêter la visualisation des données, pressez la
touche START/STOP afin de revenir en mode normal.
Pour effacer toutes les données d’une zone de mémoire :
Pressez plusieurs fois la touche SET afin de sélectionner
la zone de mémoire désirée.
Pressez simultanément les touches MODE et SET afin
d’effacer toutes les données de la zone de mémoire que
vous avez sélectionnée.
mmHg
ERROR
mmHg
Lorsque les piles sont installées, les données présentes dans les
mémoires ne sont pas perdues mêmes si le tensiomètre est éteint.
Enlevez les piles pendant plus de 10 secondes pour effacer les
mémoires.

Table of Contents

Related product manuals